+7 (411) 231-87-88
+7 (411) 231-87-88

Каталог запчастей на КамАЗ 6350-0000310, 6350-0000312, 6350-0000314 "Мустанг" шасси (8х8) (двигатель 740.50-360)

2004
6350
Развернуть каталог до:
Двигатель
Двигатель
Агрегат силовой 740.31-240, 740.30-260, укомплектованный для установки на автомобиль 4350-1000260, 5350-1000260
Агрегат силовой 740.50-360, укомплектованный для установки на автомобиль 6350-1000260
Агрегат силовой 740.30-260, 743.31-240 740.30-1000312, 740.31-1000312
Агрегат силовой 740.50-360 740.50-1000312-02
Двигатель 740.30-230 с оборудованием 740.30-1000412
Двигатель 740.30-230 с оборудованием 740.30-1000412
Двигатель 740.30-230 с оборудованием 740.30-1000412
Двигатель 740.30-230 с оборудованием 740.30-1000412
Двигатель 740.30-230 с оборудованием 740.30-1000412
Двигатель 740.31-240 с оборудованием 740.31-1000412
Двигатель 740.31-240 с оборудованием 740.31-1000412
Двигатель 740.31-240 с оборудованием 740.31-1000412
Двигатель 740.31-240 с оборудованием 740.31-1000412
Двигатель 740.31-240 с оборудованием 740.31-1000412
Двигатель 740.50-360 с оборудованием 740.50-1000412-02
Двигатель 740.50-360 с оборудованием 740.50-1000412-02
Двигатель 740.50-360 с оборудованием 740.50-1000412-02
Двигатель 740.50-360 с оборудованием 740.50-1000412-02
Двигатель 740.50-360 с оборудованием 740.50-1000412-02
Кронштейн передней опоры силового агрегата 53205-1001015
Кронштейн передней опоры силового агрегата 53229-1001015
Башмак задней опоры силового агрегата 5320-1001062-10
Основные элементы двигателя
Установка картера агрегатов 7406.1002003
Установка картера агрегатов 7406.1002003
Установка картера маховика 7406.1002004-20
Блок цилиндров 740.13-1002010
Блок цилиндров 740.50-1002010
Блок цилиндров 740.21-1002011
Заглушка водяной полости 740.1002080
Картер маховика 7406.1002310
Картер агрегатов 7406.1002320
Установка головок цилиндров и механизма газораспределения 740.21-1003000
Головка цилиндра с клапанами 7406.1003010
Головка цилиндра 7406.1003014
Втулка с уплотнительными кольцами 740.1003035
Заглушка с кольцом уплотнительным 740.1003434
Клапан форсунки охлаждения поршня 7405.1004066
Установка форсунки охлаждения поршня 7405.1004120
Установка коленчатого вала 740.30-1005007
Установка коленчатого вала 740.50-1005007
Вал коленчатый 740.50-1005008
Шестерня 7406.1005031
Установка гасителя крутильных колебаний и полумуфты отбора мощности 740.21-1005059-10
Маховик 740.50-1005115-10
Установка привода отбора мощности переднего 740.30-1005200
Корпус подшипника 7406.1005250
Фиксатор маховика 740.1005440
Привод агрегатов 740.30-1005500
Вал отбора мощности 7406.1005535
Вал распределительный 740.21-1006010
Корпус подшипника распределительного вала с втулкой 7482.1006036
Стойка коромысел 7406.1007091
Коромысло клапана 7406.1007140
Манжета уплотнительная клапана 740.1007262-01
Система питания
Установка топливного бака, ФГОТ и топливопроводов 6350-1100001-50
Установка топливного бака, ФГОТ и топливопроводов 6350-1100001-50
Бак топливный 5320-1101010-10
Труба наливная топливного бака с выдвижной трубой 5320-1101070-10
Сетка выдвижной трубы 5320-1101087-10
Трубка выдвижная топливного бака 5320-1101090-10
Пробка топливного бака 5320-1103010-01
Установка топливопроводов 65115-1104002
Трубка приемная с фильтром 5320-1104012
Трубка приемная с фильтром 5410-1104012
Трубка приемная с краном 5410-1104015
Трубка слива топлива в бак с краном 5410-1104136
Кран распределительный 5410-1104160
Пробка распределительного топливного крана в сборе 5410-1104162
Фильтр грубой очистки с насосом предпусковой прокачки топлива 7406.1105010
Фильтр грубой очистки топлива 740.1105010-01
Привод управления регулятором 7406.1108000
Установка управления подачи топлива 54115-1108003
Установка управления подачи топлива 6520-1108003
Кронштейн с валом привода 7406.1108030
Кронштейн вала привода 7406.1108038
Толкатель 54115-1108040
Толкатель 6520-1108040
Тяга привода управления регулятором 7406.1108050
Наконечник тяги рычага управления регулятором 740.1108054
Наконечник 5320-1108054
Тяга ручного управления подачей топлива 5320-1108120-99
Установка воздушного фильтра 5350-1109001-10
Установка воздушного фильтра 6350-1109001-10
Воздухоочиститель мультициклонный 6520-1109010-10
Установка тройника 65116-1109048
Хомут воздухопровода 53205-1109365
Элемент фильтрующий 7405.1109560
Корпус переднего подшипника 7406.1111040
Корпус заднего подшипника 740.30-1111045
Вал привода ТНВД в сборе 7406.1111050
Форсунка 273.1112010-20
Установка системы впуска 7406.1115000-30
Коллектор впускной правый 7406.1115012-40
Коллектор впускной левый 7406.1115014-40
Патрубок соединительный 7406.1115030-20
Патрубок объединительный 7406.1115045-40
Тройник 7406.1115110-20
Установка турбокомпрессоров на двигатель 740.30-1118000
Шестерня ведомая привода ТНВД 740.51-1121010
Установка системы наддувочного воздуха 53205-1170000
Патрубок отводящий 53205-1170125
Рукав 100x112 53205-1170245
Теплообменник охлаждения наддувочного воздуха 53205-1170300
Теплообменник охлаждения наддувочного воздуха 53205-1170300-01
Хомут 53205-1170400
Система охлаждения
Установка радиатора 54115-1300023-10
Установка радиатора 6350-1300023-10
Установка кожуха радиатора 4310-1301005
Установка защитного кожуха 6350-1301500
Установка водяных труб 7406.1303002
Установка корпуса водяных каналов 740.51-1303005
Установка корпуса водяных каналов 740.30-1303005-10
Корпус водяных каналов с термостатами 740.11-1303010
Корпус водяных каналов с термостатами 7406.1303010-10
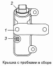
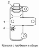
Крышка с пробкой 7406.1303013
Труба водяная правая 7406.1303100-10
Труба водяная левая 7406.1303101-10
Пробка с шариком и держателем 5320-1305030
Установка водяного насоса 7406.1307005
Насос водяной 7406.1307010-01
Установка вентилятора 740.30-1308010, 740.51-1308010
Установка обечайки вентилятора 740.50-1309007
Установка обечайки вентилятора 7406.1309007-10
Установка расширительного бачка 6520-1311005
Установка расширительного бачка 54115-1311005-10
Бачок расширительный 5320-1311010-30
Блок клапанов пробки расширительного бачка 5320-1311050
Пробка расширительного бачка 5320-1311060
Скоба верхняя 5320-1311086-30
Установка электромагнитной муфты 740.30-1317005
Муфта электромагнитная привода вентилятора 740.30-1317500
Шкив со ступицей вентилятора в сборе 740.30-1317510
Ступица вентилятора с фрикционным диском 740.30-1317520
Фланец датчика включения вентилятора с пробкой 740.30-1317570
Трансмиссия
Коробка передач
Коробка передач 161.1700011
Коробка передач 154.1700056
Коробка передач 154.1700056
Коробка передач 154.1700150
Коробка передач 161.1700151
Картер коробки передач 154.1701010
Картер коробки передач 161.1701010-10
Вал первичный коробки передач 154.1701025
Вал первичный коробки передач 161.1701025
Вал первичный коробки передач с зубчатой муфтой и втулкой 154.1701026
Вал первичный коробки передач со втулкой 161.1701027
Крышка подшипника первичного вала 14.1701039-50
Baл промежуточный коробки передач 154.1701047
Вал промежуточный коробки передач 161.1701047
Крышка заднего подшипника промежуточного вала с кольцом подшипника 154.1701070
Шайба упорная блока шестерен заднего хода 14.1701086
Вал вторичный коробки передач 154.1701100
Вал вторичный коробки передач 161.1701100
Шестерня первой передачи вторичного вала 161.1701110
Шестерня четвертой передачи вторичного вала 161.1701114
Шестерня второй передачи вторичного вала 161.1701120
Шестерня третьей передачи вторичного вала 154.1701130
Синхронизатор второй и третьей передачи 154.1701150
Синхронизатор первой и второй передачи 161.1701150
Синхронизатор четвертой и пятой передачи 154.1701151
Синхронизатор третьей и четвертой передачи 161.1701151
Крышка заднего подшипника вторичного вала с манжетой 154.1701201
Механизм переключения передач 14.1702010
Механизм переключения передач 161.1702010
Крышка коробки передач верхняя 14.1702013
Вилка переключения второй и третьей передач 14.1702026
Вилка переключения четвертой и пятой передач 14.1702031
Опора рычага переключения передач 142.1702200
Опора рычага переключения передач 161.1702200
Опора рычага переключения передач 142.1702208
Корпус опоры рычага переключения передач со втулкой 161.1702208
Крышка штока левая со втулкой 161.1702212
Фиксатор 161.1702260
Привод управления механизмом переключения передач 154.1703005
Привод управления механизмом переключения передач 161.1703005
Опора рычага переключения передач 154.1703204
Опора рычага переключения передач 161.1703204
Насос масляный 161.1704010
Проставка 161.1721012
Картер задний демультипликатора 161.1721020
Водило с сателлитами 161.1721022
Крышка задняя демультипликатора с манжетой 161.1721201
Вилка включения демультипликатора 161.1722050
Фиксатор 161.1722060
Винт регулировочный 161.1722070
Клапан включения демультипликатора 161.1723020
Фиксатор блокировки переключения передач 161.1723070
Делитель передач с управлением 154.1770010-10
Делитель передач с управлением 154.1770010-10
Делитель передач с управлением 154.1770010-10
Картер делителя передач со втулками 154.1770030
Вал первичный делителя передач 154.1770040
Шестерня первичного вала делителя 154.1770050
Синхронизатор делителя передач 154.1770160
Вал промежуточный делителя передач 154.1770210
Механизм переключения делителя передач 15.1771010
Корпус механизма переключения делителя передач 15.1771020
Поршень с манжетами 15.1771050
Валик вилки механизма переключения с рычагом 15.1771110
Воздухораспределитель механизма переключения 15.1772010
Корпус воздухораспределителя с гнездом золотника 15.1772020-01
Редукционный клапан управления механизмом переключения 15.1772100
Кран управления делителем передач с тросом 15.1772132
Корпус крана 15.1772140
Трос крана с крышкой и золотником 15.1772152
Трос крана с золотником 15.1772160
Оболочка направляющая троса 15.1772174
Мосты
Мост передний 43118-2300020-10
Мост передний 43118-2300020-10
Передача главная переднего моста 43118-2302010-10
Картер редуктора переднего моста 43114-2302015
Вал ведущий переднего моста 43118-2302021
Крышка стакана подшипников 4310-2302050
Крышка подшипника 43114-2302076
Дифференциал переднего моста 53228-2303010-10
Опора шаровая поворотного кулака 4310-2304012
Корпус поворотного кулака левый 4310-2304029
Мост задний 4350-2400041-10
Мост задний 43118-2400041-10
Мост задний 43118-2400041-10
Картер заднего моста с механизмом блокировки 4326-2401007
Клапан со штуцером 5320-2401114
Передача главная заднего моста 53205-2402011-10
Передача главная заднего моста 53205-2402011-10
Картер редуктора заднего моста 53205-2402015
Вал ведущий заднего моста 53205-2402021
Стакан подшипников 5320-2402048
Крышка стакана подшипников 5320-2402050
Шестерни ведомая коническая и ведущая цилиндрическая 53205-2402064-10
Крышка подшипника 53205-2402076
Стакан подшипников 5320-2402108
Дифференциал заднего моста 53229-2403011-10
Сателлит со втулкой 53212-2403054
Вилка блокировки 55102-2409016
Привод блокировки межколесного дифференциала 4326-2411010
Привод блокировки межколесных дифференциалов 43114-2411010
Мост средний 43118-2500044-10
Передача главная среднего моста 43118-2502014-10
Передача главная среднего моста 43118-2502014-10
Крышка подшипника 5320-2502208
Шток 5320-2511066
Кран включения блокировки 5320-2511060
Ходовая часть
Управление
Управление
Установка рулевого механизма 4310-3400012
Установка агрегатов рулевого управления 6350-3400012-10
Установка колонки рулевого управления 5425-3400014
Установка трубопроводов рулевого управления 6350-3400018-02
Установка трубопроводов рулевого управления 53205-3400018-10
Механизм рулевой 6540-3400020-02
Механизм рулевой 65115-3400020-10
Картер механизма рулевого управления 6540-3401010
Вал сошки с крышкой 4310-3401063
Редуктор угловой 4310-3401710
Корпус редуктора механизма рулевого управления 4310-3401716
Крышка корпуса с манжетами 4310-3401720
Шестерня ведущая углового редуктора с корпусом 4310-3401736
Шестерня ведомая углового редуктора рулевого механизма 4310-3401750
Установка насоса рулевого усилителя 740.50-3407000
Установка насоса гидроусилителя руля 7406.3407001
Насос рулевого усилителя 6540-3407200
Насос гидроусилителя руля 4310-3407200-01
Крышка насоса рулевого усилителя 4310-3407212
Фильтр насоса гидроусилителя руля 4310-3407338-10
Тяга сошки 4310-3414010
Тяга рулевой трапеции 4310-3414052
Наконечник тяги рулевой трапеции правый 5320-3414060
Опора задняя 6540-3414100-60
Тяга промежуточная 6350-3414130-10
Вал карданный рулевого управления 53205-3422010-75
Клапан управления гидроусилителем руля 4310-3430012
Корпус клапана управления гидроусилителем руля 4310-3430014
Клапан обратный 5320-3430220-01
Колонка рулевого управления 4310-3444010
Тормозная система
Пневмосистема
Установка пневмотормозов 4350-3500006-40
Установка пневмотормозов 4350-3500006-40
Установка пневмотормозов 4350-3500006-40
Установка пневмотормозов 4350-3500006-40
Установка воздушных ресиверов 6350-3500013
Установка воздушных ресиверов 4310-3500013-10
Установка двухсекционного тормозного крана 53205-3500014
Установка тормозного крана 6520-3500014
Установка четырехконтурного защитного клапана 6350-3500015
Установка четырехконтурного защитного клапана 4310-3500015-10
Установка ускорительных клапанов 4326-3500018
Установка ускорительных клапанов 43101-3500018
Установка ускорительного клапана 6350-3500018
Установка ускорительных клапанов 6350-3500018-10
Установка клапанов управления тормозами прицепа 43114-3500022-30
Установка клапана управления тормозами прицепа 6350-3500022-30
Установка регулятора тормозных сил 4326-3500033
Установка регулятора тормозных сил 43114-3500033
Установка двухмагистрального клапана 6350-3500062
Установка двухмагистрального клапана 43114-3500062-10
Установка вспомогательного тормоза 43114-3500070
Установка вспомогательного тормоза 6350-3500070-80
Установка вспомогательного тормоза 6350-3500070-80
Установка компрессора 7406.3509003-10
Компрессор 53205-3509015
Компрессор 53205-3509015
Картер в сборе 53205-3509018
Головка цилиндра с крышкой 53205-3509039
Крышка задняя в сборе 53205-3509088
Поршень в сборе 53205-3509154
Ресивер 53205-3513015
Кран слива конденсата 16-3513110
Кран тормозной двухсекционный с педалью 5320-3514108
Кран тормозной двухсекционный 100-3514108-10
Клапан контрольного вывода 16-3515310
Клапан защитный четырехконтурный 53205-3515400-10
Кран экстренного растормаживания 16-3515510
Клапан ускорительный 100-3518010
Камера тормозная тип 30 661-3519310-10
Головка соединительная тип
Клапан управления тормозами прицепа с двухпроводным приводом с клапаном обрыва 6024-3522010
Клапан управления тормозами прицепа с однопроводным приводом 100-3522110
Клапан управления тормозами прицепа с двухпроводным приводом с клапаном обрыва 25.3522210
Регулятор тормозных сил 100-3533010
Упругий элемент 100-3533110
Кран пневматический 100-3537110
Установка цилиндра выключения подачи топлива 5320-3570010-10
Корпус вспомогательного тормоза с заслонкой 53205-3570014
Вал заслонки 53215-3570030
Цилиндр пневматический 100-3570210
Электрооборудование
Элементы электрооборудования
Установка выключателя сигнала к водителю 4310-3700023
Установка генератора 7406.3701002-20
Кронштейн крепления генератора 7406.3701770-30
Установка выключателя приборов и стартера 53205-3708001
Установка стартера 740.50-3708005
Установка подрулевого переключателя 53215-3709002
Установка звуковых электрических сигналов 5320-3721001-10
Установка предохранителей 53205-3722501
Установка розетки внешнего запуска 43114-3723001
Установка розетки переносной лампы 43114-3723002
Установка розеток прицепа 6350-3723003-22
Установка розетки переносной лампы 43101-3723005
Установка розетки переносной лампы 43114-3723006
Установка бокового повторителя указателей поворота 5320-3726001
Установка прерывателя указателей поворота 5320-3726002
Установка малогабаритного выключателя массы 4310-3737001-01
Установка реле блокировки стартера 6520-3747195
Установка трубопроводов к шинному манометру 4310-3816001
Установка трубопроводов к манометру 43114-3830001
Установка датчиков аварийного давления воздуха 43114-3830002
Установка фильтров радиопомех 43114-7904001
Кузов
Кабина
Кабина с дверями окрашенная 6350-5000014
Кабина с дверями окрашенная 43114-5000014-04
Установка заводской таблички 5320-3904001
Установка ящика для запасных частей 5320-3906010
Установка огнетушителя 5320-3910003
Установка сумки 5320-3912001
Установка знака аварийной остановки 5320-3932002
Установка цилиндра и трубопроводов опрокидывающего механизма кабины и ДЗК 43114-5000079-30
Установка задней подвески кабины 43114-5001006-20
Кронштейн верхний 5320-5001010
Рессора кабины 5320-5001080
Установка ограничителя подъема кабины 6350-5002051
Установка ограничителя подъема кабины 43114-5002051-10
Шпилька стопорная 4310-5002074
Гидроцилиндр 4310-5003010
Гидроцилиндр ДЗК 43114-5003012
Цилиндр 4310-5003012
Цилиндр МОК 43114-5003014
Цилиндр 4310-5003014
Поршень 4310-5003038
Насос опрокидывающего механизма кабины 4310-5004010
Корпус насоса механизма опрокидывания кабины и запасного колеса 4310-5004016
Запор кабины правый 53205-5018010
Запор кабины левый 53205-5018011
Корпус запора кабины 5320-5018014, 5320-5018015
Кронштейн запора кабины 5320-5018050, 5320-5018051
Установка стеклоочистителя 53205-5205001
Установка омывателя электрического 53205-5208004
Рамка крепления омывателя 53205-5208400
Установка зеркал заднего вида 53205-8201002
Ручка левая, правая 5320-8202201, 5320-8202200
Дополнительное оборудование
Лебедка
Установка лебедки 4326-4500010
Установка лебедки 43114-4500010
Установка лебедки 43114-4500010-10
Лебедка с редуктором, поперечиной и тросоукладчиком 4326-4501010
Лебедка с редуктором, поперечиной и тросоукладчиком 4310-4501010
Редуктор лебедки 4310-4501014
Вал барабана 4310-4501030
Траверса вала барабана 4310-4501230
Ролики направляющие троса лебедки передние 4310-4501248
Ролики направляющие троса лебедки задние 4310-4501280
Ролик опорный троса первый с кронштейнами 4310-4501294
Ролик опорный троса третий с кронштейнами 4310-4501344
Ролик нажимной троса с рамкой 4310-4501410
Вал карданный лебедки передний 4326-4502010
Вал карданный лебедки передний 4310-4502010
Вал карданный лебедки задний 4326-4502110
Вал карданный лебедки задний 4310-4502110-01
Вал карданный промежуточный лебедки 4310-4502210
Вал карданный промежуточный лебедки 4326-4502210-01
Установка блока лебедки 4310-4505003
Блок лебедки 4310-4505010
Тросоукладчик лебедки 4310-4511010
Truck Контакты:
Адрес: г. Якутск, мкр. Марха Строда, 40 677901 Якутск,
Телефон:+7 (411) 231-87-88, Электронная почта: info@truck14.ru