+7 (411) 231-87-88
+7 (411) 231-87-88

Каталог запчастей на КамАЗ 65221 - автомобиль-тягач

2009
65221
Развернуть каталог до:
Двигатель
Основные элементы двигателя
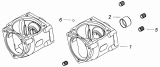
Установка картера агрегатов 7406.1002003
Картер агрегатов 7406.1002320
Шестерня ведущая 7406.1029115
Ось ведущей шестерни 7406.1029125
Установка картера маховика 7406.1002004-20
Картер маховика 7406.1002310
Корпус манжеты 740.37-1029170
Блок цилиндров 740.50-1002010
Блок цилиндров 740.21-1002011
Заглушка водяной полости 740.1002080
Втулка с кольцами 740.1003035
Установка головок цилиндра и механизма газораспределения 740.21-1003000
Головка цилиндра с клапанами 740.30-1003010
Головка цилиндра 740.30-1003014
Заглушка с кольцом 740.1003434
Стойка коромысел 7406.1007091
Коромысло клапана 7406.1007140
Распределительный вал 740.21-1006010
Корпус подшипника распределительного вала с втулкой 7482.1006036
Поршень с шатуном и кольцами 740.51-1004010-40
Шатун 740.1004045
Установка форсунки охлаждения поршня 7405.1004120
Клапан форсунки охлаждения поршня 7405.1004066
Установка коленчатого вала 740.50-1005007
Коленчатый вал 740.50-1005008
Шестерня коленчатого вала 7406.1005031
Установка гасителя крутильных колебаний и полумуфты отбора мощности 740.21-1005059-10
Установка шкива коленчатого вала 7406.1005060-20
Шкив 7406.1005050
Установка маховика и фиксатора 740.50-1005100-10
Маховик 740.50-1005115-10
Маховик 740.50-1005116
Фиксатор маховика 740.1005440
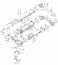
Установка привода отбора мощности переднего 7406-1005200
Привод агрегатов 7406.1005500
Крышка блока цилиндров передняя 740.1002260
Корпус подшипника 7406.1005250
Вал отбора мощности 7406.10055359
Система питания
Установка топливных баков, ФГОТ и топливопроводов 6520-1100030
Установка топливных баков, ФГОТ и топливопроводов 6520-1100030
Установка топливных баков, ФГОТ и топливопроводов 6520-1100050
Бак топливный 53215-1101010-03
Бак топливный 53215-1101010-03
Бак топливный 53215-1101010-05
Бак топливный 53215-1101010-05
Установка крышки топливного бака 53215-1103001
Пробка топливного бака 65115-1103010
Установка управления подачей топлива 6520-1108003
Управление подачей топлива 6520-1108003-20
Толкатель 6520-1108040
Тяга ручного останова двигателя 5425-1108130
Установка воздушного фильтра 6520-1109001-10
Установка воздушного фильтра 6520-1109001-20
Установка воздухоочистителя мультициклонного 6520-1109003-20
Установка воздухозаборника 6520-1109003-30
Воздухозаборник с кронштейном 6520-1109005-30
Установка системы ОНВ 65224-1170000
Установка топливопроводов 65115-1104002-40
Установка топливопроводов 6520-1104000-90
Установка тройника 6520-1109048
Установка тройника 65116-1109048
Корпус заднего подшипника 740.30-1111045
Шестерня, ведомая привода ТНВД 740.37-1121010
Установка топливопроводов 740.51-1104000
Установка топливопроводов 740.51-1104000-90
Фильтр тонкой очистки топлива 740.51-1117010
Пружина 740.1117029
Привод управления регулятором 7406.1108000
Привод управления регулятором 7482.1108000
Кронштейн с валом привода 7406.1108030
Кронштейн с валом привода 7482.1108030
Кронштейн вала привода 7406.1108038
Тяга привода управления регулятором 7406.1108050
Тяга привода управления регулятором 7482.1108050
Наконечник тяги рычага управления регулятором 740.1108054
Установка и привод ТНВД 740.50-1111000-20
Установка и привод ТНВД 740.50-1111000-90
ТНВД с фланцем и полумуфтой ведомой 740.50-1111005-90
Вал привода ТНВД 7406.1111050
Вал привода ТНВД 7482.1111050
Установка форсунки 740.50-1112000
Установка форсунки 740.50-1112000-90
Установка системы впуска 7406.1115000-30
Коллектор впускной правый 7406.1115012-40
Коллектор впускной левый 7406.1115014-40
Патрубок соединительный 7406.1115030-20
Патрубок объединительный 7406.1115045-40
Тройник 7406.1115110-20
Труба подводящая 7406.1115122-10
Установка турбокомпрессоров на двигатель 740.30-1118000
Турбокомпрессор 7406.1118010
Корпус подшипников с ротором 7405.1118018
Корпус подшипников с подшипниками 7405.1118020
Ротор с колесом компрессора 7405.1118080
Насос топливный высокого давления (ТНВД) в сборе 337.1111005-20
Насос топливный высокого давления (ТНВД) в сборе 337.1111005-20
Насос топливный высокого давления (ТНВД) в сборе 337.1111005-20
Насос топливный высокого давления (ТНВД) в сборе 337.1111005-20
Топливный насос низкого давления в сборе 332.1106010
Крышка регулятора верхняя в сборе 33.1110024
Державка грузов регулятора в сборе 333.1110040
Муфта регулятора в сборе 33.1110060
Крышка регулятора задняя в сборе 333.1110128-30
Рычаг регулятора в сборе 333.1110160-32
Рычаг стартовой пружины в сборе 33.1110505
Шестерня регулятора ведущая в сборе 333.1110515-30
Шестерня регулятора промежуточная в сборе 333.1110670-30
Корректор подачи топлива по наддуву в сборе 333.1110700-30
Корпус топливного насоса в сборе 337.1111020-30
Секция топливного насоса в сборе 323.1111039-01
Вал кулачковый в сборе 337.1111050-01
Крышка подшипника с манжетой в сборе 337.1111070-21
Толкатель плунжера в сборе 337.1111110
Клапан перепускной в сборе 338.1111140-20
Рейка правая в сборе 337.1111180
Рейка левая в сборе 337.1111181
Рычаг реек в сборе 33.1111400
Топливоподкачивающий насос - РЕ8Р120А920/5RS7525 0 412 628 957
Центробежный регулятор - РQV300...1100РА1485К 0 421 815 598
Топливоподкачивающий насос - FP/КG 24Р302 0 440 008 073
Система смазки
Установка картера масляного 740.50-1009001-20
Трубка указателя уровня 740.1009048-30
Указатель уровня в сборе 740.11-1009050-01
Установка масляного насоса 740.50-1011001
Масляный насос с маслозаборником 740.50-1011005
Масляный насос с шестерней 740.11-1011010
Насос масляный 740.11-1011014-02
Крышка с клапаном 740.11-1011016-01
Крышка масляного насоса 740.11-1011019-01
Корпус насоса 740.1011018-50
Шестерня ведомая масляного насоса 740.1011030-50
Установка фильтра и теплообменника 7406.1012001-30
Фильтр масляный с теплообменником 740.20-1012006
Теплообменник масляный 740.20-1013200-10
Теплообменник масляный 740.60-1013200
Сердцевина 740.20-1013210, 740.60-1013210
Фильтр очистки масла 7406.1012010
Корпус масляного фильтра 7406.1012015
Колпак масляного фильтра 740.20-1012068
Установка системы вентиляции 740.50-1014100
Установка электромагнитного клапана 7406 1022800
Установка магнитного клапана и штифтовых факельных свечей 740.63-1022800-90
Клапан с кронштейном и трубкой 7406.1022860
Трансмиссия
Коробка передач
Привод управления механизмом переключения передач 6460-1703005
Опора рычага переключения передач 6460-1703204
Тяга реактивная 6460-1703520
Установка пневмопривода управлением переключения передач 6460-1772005
Картер коробки передач с пробками
Установка нижней крышки картера и трубки распылителя
Установка картера сцепления
Первичный вал
Установка крышки первичного вала
Промежуточный вал
Установка насоса
Основной вал
Установка пробок картера
Штоки вилок переключения передач
Механизм переключения передач
Установка боковых крышек механизма переключения передач
Установка датчиков механизма переключения передач
Комплект пружин
Механизм управления демультипликатором
Установка задней крышки картера
Картер планетарной передачи
Привод планетарной передачи
Установка заднего фланца
Синхронизатор планетарной передачи
Управление планетарной передачей
Механизм выбора передаточного числа
Вилка выключения сцепления
Установка цилиндра сцепления
Комплекты для запасных частей
Раздаточная коробка 1600/300
Картер
Первичный вал, крышка подшипника
Двухвенцовая шестерня, крышка подшипника
Ведомый вал, крышка подшипника
Фланцы
Пневматическое переключение передач
Мосты
Мост передний 65221-2300633-10
Мост передний 55227-2300633-10
Передача главная переднего моста 6522-2302010-10
Крышка подшипника 6522-2302050
Дифференциал переднего моста 6522-2303010-10
Мост задний 65227-2400631-10
Передача главная заднего моста 6520-2402011-10
Картер редуктора заднего моста 6520-2402015
Шестерня ведущая коническая 6520-2402021-10
Стакан подшипников 6520-2402048
Крышка подшипника 6520-2402050
Крышка подшипника 6520-2402076
Сателлит дифференциала заднего моста с втулкой 53212-2403054
Дифференциал моста заднего 6520-2403011-10
Вилка блокировки 65102-2409016
Привод блокировки межколесных дифференциалов 6522-2411020
Мост средний 65227-2500632-10
Передача главная среднего моста 6520-2502011-10
Крышка подшипника 6520-2502050
Крышка подшипника 6520-2502208
Дифференциал моста среднего 6520-2503011-10
Межосевой дифференциал среднего моста 6520-2506010
Сателлит межосевого дифференциала с втулкой 6520-2506054
Передний ведущий мост
Передний ведущий мост
Передний ведущий мост
Передний ведущий мост
Передний ведущий мост
Передний ведущий мост
Средний и задний ведущие мосты
Средний и задний ведущие мосты
Средний и задний ведущие мосты
Средний и задний ведущие мосты
Средний и задний ведущие мосты
Тормозная система
Пневмосистема
Установка пневмотормозов 65221-3500006
Установка пневмотормозов 65221-3500006
Установка пневмотормозов 65221-3500006
Установка пневмотормозов 65221-3500006
Установка пневмотормозов 65225-3500006-20
Установка пневмотормозов 65225-3500006-20
Установка пневмотормозов 65225-3500006-20
Установка пневмотормозов 65225-3500006-20
Установка осушителя 6520-3500011-16
Установка воздушных ресиверов 65225-3500013
Установка двухсекционного тормозного крана 65115-3500014
Установка четырех контурного защитного клапана 6520-3500015
Ускорительный клапан с соединительной арматурой 6520-3500018-03
Установка клапана управления тормозами прицепа 6520-3500022-10
Установка регулятора тормозных сил 6522-3500033
Установка кабелей АБС 6520-3500037-41
Установка кабелей АБС 6520-3500037-41
Установка кабелей АБС 65226-3500037-42
Установка кабелей АБС 65226-3500037-42
Установка модуляторов АБС 6520-3500042-41
Установка клапана двух магистрального 6520-3500062-10
Установка пневмоуправления системой АБС 6520-3506042
Установка пневмоуправления системой АБС 6520-3506042
Установка охладителя 6520-3506180
Установка пневмовыводов к полуприцепу 65225-3506500
Кран слива конденсата 16-3513110
Кран тормозной двухсекционный с педалью 65115-3514108
Клапан контрольного вывода 16-3515310
Клапан защитный четырехконтурный 53205-3515400-10
Кран экстренного растормаживания 16-3515510
Корпус вспомогательного тормоза с заслонкой 6460-3570014-10
Пневмоцилиндр вспомогательного тормоза 53205-3570205
Цилиндр пневматический d=35х65 53205-3570210
Установка цилиндра выключения подачи топлива 5320-3570010
Цилиндр пневматический с тягой 5320-3570074-10
Установка компрессора 740.30-3509004
Установка компрессора 7406.3509003
Компрессор 53205-3509015
Картер компрессора 53205-3509018
Головка цилиндра с крышкой 53205-3509039
Крышка задняя в сборе 53205-3509088
Поршень в сборе 53205-3509154
Электрооборудование
Система освещения
Установка фар и передних указателей поворота 6520-3711001
Установка фар дополнительных и противотуманных 65115-3711003-04
Установка плафонов 53205-3714001-10
Установка плафона освещения спального места 54105-3714002-24
Установка плафона освещения вещевого ящика 53205-3714003
Установка подкапотной лампы 5320-3715001
Установка задних фонарей 5410-3716002
Установка задних фонарей 6520-3716002
Установка фонаря заднего хода 54112-3716006
Установка фонаря заднего противотуманного 54112-3716007
Установка фонарей освещения номерного знака 44108-3717001-85
Установка электромеханического корректора 53215-3718001-85
Установка розетки переносной лампы 53205-3723005
Установка бокового повторителя указателя поворота 53215-3726001
Установка прерывателя указателей поворота 53215-3726002
Установка прожектора освещения сцепного устройства 65225-3727002
Установка боковых габаритных фонарей 6460-3731001-06
Установка боковых габаритных фонарей 6520-3731001
Установка малогабаритного выключателя массы 5320-3737001-01
Установка фонарей автопоезда 53205-3738001
Установка габаритных фонарей 5425-3738002
Элементы электрооборудования
Электрооборудование. Расположение на автомобиле 65222-3700001-14
Электрооборудование. Расположение на автомобиле 65225-3700001-15
Электрооборудование. Расположение на автомобиле 65227-3700001-10
Установка аккумуляторных батарей 65221-3703001
Установка выключателей 5460-3710001-34
Установка выключателей 6520-3710001-97
Установка выключателя коробки отбора мощности 65228-3710002
Установка выключателя аккумуляторной батареи 4308-3710004-30
Панель выключателей 4326-3710428-54
Установка звуковых электрических сигналов 5320-3721001-10
Установка предохранителей 4308-3722001-30
Установка блока предохранителей 53602-3722002
Установка предохранителей 53205-3722501-10
Установка розетки внешнего запуска 6520-3723001
Установка розеток прицепа 6460-3723003
Установка розеток прицепа 65227-3723003-10
Установка блока управления ЭФУ 6520-3740001
Установка электрооборудования подогревателя 53205-3741001
Установка электрооборудования подогревателя 53205-3741001-50
Установка электрооборудования подогревателя 6520-3741001-92
Установка электрооборудования подогревателя 65228-3741001
Установка электрооборудования системы подогрева топлива 65115-3741004
Установка электрооборудования системы подогрева топлива 65115-3741004-40
Установка оборудования обогрева зеркал 65115-3741008
Установка оборудования обогрева зеркал 53215-3741008
Установка реле 4308-3747001-50
Установка реле 6460-3747001-50
Установка электронного реле стартера 4355-3747195
Установка электронного реле стартера 6460-3747195
Установка преобразователя напряжения 53215-3759001
Установка генератора 740.51-3701002
Установка стартера 740.50-3708005
Установка контрольных ламп 65111-3803001
Установка контрольных ламп 65111-3803001-84
Щиток приборов 65224-3805010-10
Щиток приборов 65224-3805010-10
Установка датчиков аварийного давления воздуха 53205-3830002
Установка датчиков аварийного давления воздуха 53205-3830002
Установка датчиков указателя давления воздуха 4308-3830005
Установка щитка приборов 4308-3805001-42
Щиток приборов 4308-3805010-42
Установка электрооборудования АБС 53215-3859001-10
Установка электрооборудования АБС 53215-3859001-41
Установка электрооборудования АБС 53215-3859001-41
Установка датчиков 740.62-3800001
Кузов
Truck Контакты:
Адрес: г. Якутск, мкр. Марха Строда, 40 677901 Якутск,
Телефон:+7 (411) 231-87-88, Электронная почта: info@truck14.ru