+7 (411) 231-87-88
+7 (411) 231-87-88

Каталог запчастей на КамАЗ 5350-0000310 ""Мустанг"" - бортовой автомобиль-тягач (6х6); 740.30-260 (Euro-2)

2010
5350
Развернуть каталог до:
Двигатель
Основные элементы двигателя
Установка картера агрегатов 7406.1002003
Картер агрегатов 7406.1002320
Шестерня ведущая 7406.1029115
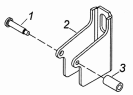
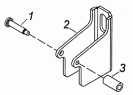
Ось ведущей шестерни 7406.1029125
Установка картера маховика 7406.1002004-20
Картер маховика 7406.1002310
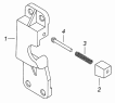
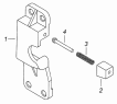
Корпус манжеты 740.37-1029170
Блок цилиндров 740.13-1002010
Заглушка водяной полости 740.1002080
Втулка с кольцами 740.1003035
Установка головок цилиндра и механизма газораспределения 740.21-1003000
Головка цилиндра с клапанами 740.30-1003010
Головка цилиндра 740.30-1003014
Заглушка с кольцом 740.1003434
Стойка коромысел 7406.1007091
Коромысло клапана 7406.1007140
Распределительный вал 740.21-1006010
Корпус подшипника распределительного вала с втулкой 7482.1006036
Поршень с шатуном и кольцами 740.30-1004010-42
Поршень с шатуном и кольцами 740.30-1004010-80
Шатун 740.1004045
Установка форсунки охлаждения поршня 7405.1004120
Клапан форсунки охлаждения поршня 7405.1004066
Установка коленчатого вала 740.30-1005007
Коленчатый вал 740.30-1005008
Установка коленчатого вала 740.50-1005007
Коленчатый вал 740.50-1005008
Шестерня коленчатого вала 7406.1005031
Установка гасителя крутильных колебаний и полумуфты отбора мощности 740.21-1005059-10
Установка маховика и фиксатора 740.50-1005100-10
Маховик 740.50-1005115-10
Маховик 740.50-1005116
Фиксатор маховика 740.1005440
Установка привода отбора мощности переднего 740.30-1005200
Привод агрегатов 740.30-1005500
Крышка блока цилиндров передняя 740.30-1002260
Корпус подшипника 7406.1005250
Вал отбора мощности 740.30-1005535
Система питания
Установка топливного бака, ФГОТ и топливопроводов 6350-1100001-50
Установка топливного бака, ФГОТ и топливопроводов 43114-1100002-41
Бак топливный 5320-1101010-10
Труба наливная топливного бака с выдвижной трубой 5320-1101070-10
Пробка топливного бака 5320-1103010-01
Установка топливопроводов 740.51-1104001
Фильтр тонкой очистки топлива 740.21-1117010
Трубка приемная с фильтром 5320-1104012
Трубка слива топлива в бак с угольником 5320-1104136
Фильтр грубой очистки с насосом предпусковой прокачки топлива 7406.1105010
Фильтр грубой очистки топлива 740.1105010-01
Привод управления регулятором 7406.1108000
Кронштейн с валом привода 7406.1108030
Кронштейн вала привода 7406.1108038
Тяга привода управления регулятором 7406.1108050
Управление подачей топлива 6520-1108003
Управление подачей топлива 54115-1108003
Толкатель 6520-1108040
Толкатель 54115-1108040-10
Наконечник 5320-1108054
Тяга ручного управления подачей топлива двигателя 5320-1108120-99
Тяга ручного останова двигателя 5425-1108130
Установка тройника 65116-1109048
Установка воздушного фильтра 5350-1109001-10
Установка воздушного фильтра 6350-1109001-10
Установка воздухоочистителя мультициклонного 5350-1109003-20
Установка воздухоочистителя мультициклонного 6350-1109003-20
Воздухоочиститель с кронштейнами 6350-1109005-20
Воздухопровод 5350-1109400-20
Фильтр воздушный 7405.1109510
Установка и привод ТНВД 740.31-1111000-30
Установка и привод ТНВД 740 30-1111000-30
Установка и привод ТНВД 740.50-1111000-20
Вал привода ТНВД 7406.1111050
Установка форсунки 740.50-1112000
Установка форсунок ОАО
Установка системы впуска 7406.1115000-30
Коллектор впускной правый 7406.1115012-40
Коллектор впускной левый 7406.1115014-40
Патрубок соединительный 7406.1115030-20
Патрубок объединительный 7406.1115045-40
Установка турбокомпрессора 740.30-1118000
Турбокомпрессор 7406.1118010
Установка системы охлаждения наддувочного воздуха 53205-1170000
Установка системы ОНВ 65224-1170000
Система охлаждения
Трансмиссия
Коробка передач
Установка вентиляционных трубок коробки передач 154.1600300
Установка пневмогидравлического усилителя 65117-1609010-10
Установка коробки передач 65201-1700005-50
Установка коробки передач 154.1700005-10
Коробка передач с делителем, управлением и деталями сцепления 154.1700051-20
Коробка передач 154.1700150
Картер коробки передач 154.1701010
Вал первичный коробки передач 154.1701025
Вал первичный коробки передач с зубчатой муфтой и втулкой 154.1701026
Вал первичный коробки передач с зубчатой муфтой 154.1701027
Крышка подшипника первичного вала 14.1701039
Вал промежуточный 154.1701047
Крышка заднего подшипника промежуточного вала 154.1701070
Вал вторичный 154.1701100
Крышка заднего подшипника вторичного вала 154.1701201
Механизм переключения передач 14.1702010
Крышка коробки передач верхняя 14.1702013
Вилка переключения 2-ой и 3-ей передач 14.1702026
Вилка переключения 4-ой и 5-ой передач 14.1702031
Опора рычага переключения передач 142.1702200
Опора рычага переключения передач 142.1702208
Привод управления механизмом переключения передач 154.1703005-20
Привод управления механизмом переключения передач 6460-1703005
Опора рычага переключения передач 154.1703204-20
Опора рычага переключения передач 6460-1703204
Серьга со втулкой 142.1703362
Тяга реактивная в сборе 154.1703520
Тяга реактивная 6460-1703520
Делитель передач с управлением 154.1770010-20
Картер делителя передач с втулками 154.1770030
Вал первичный делителя передач 154.1770040
Вал промежуточный делителя передач 154.1770210
Механизм переключения делителя передач 15.1771010
Поршень с манжетами 15.1771050
Валик вилки механизма переключения с рычагом 15.1771110
Редукционный клапан управления механизмом переключения 15.1772100
Установка пневмопривода управлением переключения передач 154.1772005
Установка пневмопривода управлением переключения передач 6460-1772005
Коробка раздаточная
Установка крепления раздаточной коробки 65111-1800008
Установка крепления раздаточной коробки 6350-1800008-20
Установка управления раздаточной коробки 43114-1800009
Установка управления раздаточной коробки 6350-1800009-30
Кран управления раздаточной коробкой 4310-1804010
Коробка раздаточная с коробкой отбора мощности 65111-1800020
Картер раздаточной коробки 65111-1802010
Вал первичный раздаточной коробки 65111-1802024
Крышка переднего подшипника первичного вала 65111-1802027-10
Вал промежуточный раздаточной коробки 65111-1802084-10
Крышка заднего подшипника промежуточного вала 65111-1802104-10
Дифференциал раздаточной коробки 65111-1802150-10
Обойма дифференциала раздаточной коробки с сателлитами 65111-1802155-10
Обойма дифференциала раздаточной коробки 65111-1802160-10
Ступица шестерни низшей передачи с втулкой 65111-1802168
Крышка заднего подшипника привода заднего моста 65111-1802212-10
Картер привода переднего моста 65111-1802230-10
Крышка переднего подшипника привода переднего моста 65111-1802117-10
Механизм включения низшей передачи 65111-1803010
Шток включения низшей передачи раздаточной коробки 65111-1803022
Установка сменных шестерен привода датчика спидометра 43114-1800600
Мосты
Мост передний 43118-2300020-10
Мост передний 43118-2300020-10
Мост передний второй 6350-2320020-10
Мост передний второй 6350-2320020-10
Мост передний второй 6350-2320020-10
Передача главная переднего моста 43118-2302010-10
Картер редуктора переднего моста 43114-2302015
Крышка подшипника 43114-2302076
Вал ведущий переднего моста 43118-2302021
Дифференциал переднего моста 53228-2303010-10
Опора шаровая поворотного кулака 4310-2304012
Корпус поворотного кулака правый 4310-2304029
Цапфа поворотного кулака 43114-2304081
Передача главная переднего второго моста 6350-2322010-10
Картер редуктора переднего второго моста 6350-2322015
Крышка подшипника 6350-2322076
Вал ведущий переднего второго моста 6350-2322021
Дифференциал переднего моста 6350-2323010-10
Мост задний 4350-2400041-10
Мост задний 43118-2400041-10
Мост задний 43118-2400041-10
Картер заднего моста с механизмом блокировки 4326-2401007
Картер заднего моста с механизмом блокировки 55102-2401007
Цапфа заднего моста 4310-2401081
Цапфа заднего моста 43114-2401081
Клапан со штуцером 5320-2401114
Передача главная заднего моста 53205-2402011-10
Передача главная заднего моста 43253-2402011-10
Картер редуктора заднего моста 53205-2402015
Стакан подшипников 5320-2402048
Крышка стакана подшипников 54115-2402050
Шестерня ведомая коническая 5320-2402064-10
Крышка подшипника 53205-2402076
Стакан подшипников 5320-2402108
Дифференциал заднего моста 53229-2403011-10
Сателлит дифференциала заднего моста с втулкой 53212-2403054
Вилка блокировки 55102-2409016
Привод блокировки межколесного дифференциала 4326-2411020
Привод блокировки межколесных дифференциалов 6350-2411022-10
Привод блокировки межколесных дифференциалов 43114-2411020
Мост средний 43118-2500044-10
Картер заднего моста с механизмом блокировки 55102-2501007
Передача главная среднего моста 43118-2502014-10
Крышка подшипника 54115-2502208
Кран включения блокировки 5320-2511060
Ходовая часть
Управление
Управление
Установка рулевого механизма 4310-3400012
Механизм рулевой 4310-3400020
Картер механизма рулевого управления 4310-3401010-20
Вал сошки с крышкой 4310-3401063
Редуктор угловой механизма рулевого управления 4310-3401710
Корпус углового редуктора механизма рулевого управления 4310-3401716
Крышка корпуса с манжетами 4310-3401720
Шестерня ведущая углового редуктора с корпусом 4310-3401736
Шестерня ведомая углового редуктора 4310-3401750
Клапан управления гидроусилителем руля 4310-3430012
Корпус клапана управления гидроусилителем руля 4310-3430014
Клапан обратный 5320-3430220-01
Тяга сошки с наконечниками 4310-3414010-10
Тяга сошки 53205-3414010
Установка агрегатов рулевого управления 6350-3400012-10
Тяга сошки рулевого управления 4310-3414010
Опора задняя 6350-3414100-11
Опора задняя 6350-3414100-21
Тяга промежуточная 6350-3414130-10
Наконечник тяги 6520-3414055
Установка колонки рулевого управления 5425-3400014
Вал карданный 53205-3422010-75
Колонка рулевого управления 4310-3444010
Установка трубопроводов 53205-3400018-10
Установка трубопроводов 6350-3400018-02
Установка насоса рулевого усилителя 740.30-3407006-10
Установка насоса рулевого усилителя 740.50-3407001-10
Установка насоса рулевого усилителя 6540-3407005
Насос рулевого усилителя 4310-3407200-01
Крышка насоса рулевого усилителя 4310-3407212-02
Клапан перепускной 4310-3407270-02
Фильтр насоса гидроусилителя руля 4310-3407338-10
Насос рулевого усилителя 4310-3407200-02
Насос гидроусилителя руля 4310-3407201-02
Насос рулевого усилителя 6540-3407200
Тяга рулевой трапеции 4310-3414052
Тормозная система
Пневмосистема
Установка пневмотормозов 4350-3500006-32
Установка пневмотормозов 4350-3500006-32
Установка пневмотормозов 5350-3500006-32
Установка пневмотормозов 5350-3500006-32
Установка пневмотормозов 5350-3500006-32
Установка пневмотормозов 5350-3500006-32
Установка пневмотормозов 6350-3500006-27
Установка пневмотормозов 6350-3500006-27
Установка пневмотормозов 6350-3500006-27
Установка осушителя 5350-3500011-17
Установка осушителя 6350-3500011-17
Установка осушителя 6350-3500011-16
Установка воздушных ресиверов 4310-3500013-10
Установка воздушных ресиверов 6350-3500013
Кран слива конденсата 16-3513110
Установка двухсекционного тормозного крана 6520-3500014
Кран тормозной двухсекционный с педалью 5320-3514108
Кран тормозной двухсекционный 100-3514108-10
Установка четырехконтурного защитного клапана 4310-3500015-10
Установка четырехконтурного защитного клапана 6350-3500015
Клапан защитный четырехконтурный 53205-3515400-10
Установка ускорительных клапанов 43101-3500018
Установка ускорительных клапанов 4326-3500018
Установка ускорительного клапана 6350-3500018
Установка ускорительных клапанов 6350-3500018-10
Клапан ускорительный 100-3518010
Установка клапанов управления тормозами прицепа 43114-3500022-30
Клапан управления тормозами прицепа с соединительной арматурой 6350-3500022-30
Клапан управления тормозами прицепа с однопроводным приводом в сборе 100-3522110
Установка регулятора тормозных сил 4925-3500033
Установка регулятора тормозных сил 43114-3500033
Регулятор тормозных сил в сборе 100-3533010
Установка двухмагистрального клапана 43114-3500062-10
Установка двухмагистрального клапана 6350-3500062
Тормоз вспомогательный и его привод 43101-3500070
Тормоз вспомогательный и его привод 6350-3500070
Кран аварийного растормаживания в сборе 100-3537110
Корпус вспомогательного тормоза с заслонкой 6460-3570014-10
Цилиндр вспомогательного тормоза с шайбой 5350-3570205-01
Пневмоцилиндр вспомогательного тормоза 53205-3570205
Цилиндр пневматический ф35х65 53205-3570210
Цилиндр управления заслонкой в сборе 100-3570210
Установка охладителя 54115-3506180-17
Установка охладителя 6350-3506180-17
Клапан контрольного вывода 16-3515310
Кран экстренного растормаживания 16-3515510
Головка соединительная 100-3521010
Установка компрессора 7406.3509003
Компрессор 53205-3509015-20
Картер компрессора 53205-3509018
Головка цилиндра с крышкой 53205-3509039-20
Крышка задняя в сборе 53205-3509088
Поршень в сборе 53205-3509154
Установка цилиндра выключения подачи топлива 5320-3570010
Цилиндр пневматический с тягой 5320-3570074-10
Электрооборудование
Элементы электрооборудования
Электрооборудование. Расположение на автомобиле 5350-3700001-20
Установка выключателя сигнала к водителю 4310-3700023
Монтаж электрооборудования подогревателя 5320-3700087
Установка генератора 7406.3701002-20
Установка аккумуляторных батарей 4350-3703001
Установка аккумуляторных батарей 4350-3703001
Установка аккумуляторных батарей 4350-3703001-10
Установка аккумуляторных батарей 6350-3703001-31
Установка выключателя приборов и стартера 53205-3708001
Установка стартера 740.50-3708005
Установка подрулевого переключателя 53215-3709002
Панель выключателей 5350-3710428-20
Панель выключателей 6350-3710428-22
Установка звуковых электрических сигналов 5320-3721001-10
Установка предохранителей 53205-3722501-10
Установка розетки внешнего запуска 43114-3723001
Установка розетки переносной лампы 43114-3723002
Установка розеток прицепа 6350-3723003-22
Установка малогабаритного выключателя массы 5320-3737001-01
Установка реле 6460-3747001-64
Установка электронного реле стартера 6460-3747195
Установка стартера 740.50-3708005
Установка датчиков 740.62-3800001
Установка датчиков на коробку передач 740.62-3800002
Щиток приборов 5350-3805010-20
Установка трубопроводов к шинному манометру 4310-3816001
Установка датчиков аварийного давления воздуха 43114-3830002
Пломбировка спидометра 53205-3802001
Кузов
Кабина
Установка кабины с оперением 5350-5000006-04
Переднее крепление и механизм уравновешивания кабины 54115-5000003
Переднее крепление и механизм уравновешивания кабины 6350-5000003
Кабина со спальным местом 5350-5000012-04
Кабина с дверями окрашенная 6350-5000014-04
Установка механизма опрокидывания кабины и запасного колеса 43114-5000079-30
Установка задней подвески кабины 43114-5001006-20
Кронштейн переднего крепления кабины верхний 5320-5001010
Рессора кабины 5320-5001080
Установка ограничителя подъема кабины 43114-5002051-10
Установка ограничителя подъема кабины 6350-5002051
Гидроцилиндр МОК в сб. 43114-5003014
Цилиндр опрокидывающего механизма кабины 4310-5003014
Насос опрокидывающего механизма кабины 4310-5004010
Корпус насоса механизма опрокидывания кабины и запасного колеса 4310-5004016
Запор кабины правый 53205-5018010
Запор кабины левый 53205-5018011
Кронштейн запора кабины правый 5320-5018060
Установка стеклоочистителя 6520-5205001
Установка омывателя 6520-5208004
Ручка передка 53205-5310010
Установка зеркал заднего вида 53205-8201002
Дополнительное оборудование
Truck Контакты:
Адрес: г. Якутск, мкр. Марха Строда, 40 677901 Якутск,
Телефон:+7 (411) 231-87-88, Электронная почта: info@truck14.ru