+7 (411) 231-87-88
+7 (411) 231-87-88

Каталог запчастей на КамАЗ 6560 - бортовой тягач (8x8); 740.35-400 (Euro-2)

2010
6560
Развернуть каталог до:
Двигатель
Основные элементы двигателя
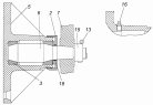
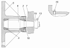
Установка картера агрегатов 740.37-1002003
Картер агрегатов 740.37-1002320
Шестерня, ведущая в сборе 7406.1029115
Ось ведущей шестерни 7406.1029125
Установка картера маховика Э740.35-1002004-10
Картер маховика Э740.35-1002310
Корпус манжеты 740.37-1029170
Блок цилиндров 740.50-1002010-10
Блок цилиндров 740.21-1002011-10
Установка головок цилиндра и механизма газораспределения 740.21-1003000
Головка цилиндра с клапанами 740.30-1003010
Головка цилиндра 740.30-1003014
Заглушка с кольцом 740.1003434
Стойка коромысел 7406.1007091
Коромысло клапана 7406.1007140
Распределительный вал 740.21-1006010
Корпус подшипника распределительного вала с втулкой 7482.1006036
Поршень с шатуном и кольцами 740.60-1004010-40
Шатун 740.1004045
Установка форсунки охлаждения поршня 740.60-1004120
Установка коленчатого вала 740.35-1005007
Коленчатый вал 740.35-1005008
Шестерня коленчатого вала 7406.1005031
Установка гасителя крутильных колебаний и полумуфты отбора мощности 740.21-1005059-10
Установка маховика и фиксатора Э740.35-1005100
Фиксатор маховика 740.1005440
Установка привода отбора мощности переднего 740.30-1005200
Привод агрегатов 7406-1005500
Крышка блока цилиндров передняя 740.30-1002260
Корпус подшипника 7406.1005250
Вал отбора мощности 7406.1005535
Система питания
Установка топливных баков, ФГОТ и топливопроводов 6560-1100030
Бак топливный 53215-1101010-16
Установка крышки топливного бака 53215-1103001-20
Трубка приемная с фильтром 65116-1104012-02
Установка топливопроводов 6520-1104000-90
Установка топливопроводов 740.50-1104000-90
Фильтр тонкой очистки топлива 740.21-1117010
Установка управления подачей топлива 6560-1108003
Толкатель 6520-1108040
Наконечник 5320-1108054
Тяга ручного управления подачей топлива двигателя 5320-1108120-99
Тяга ручного останова двигателя 6520-1108130-10
Установка воздушного фильтра 6560-1109001-01
Корпус заднего подшипника 740.30-1111045
Шестерня, ведомая привода ТНВД 740.37-1121010
Установка и привод ТНВД Э740.35-1111000-90
ТНВД с фланцем и полумуфтой ведомой 740.50-1111005-90
Вал привода ТНВД 740.37-1111050
Установка форсунки 740.50-1112000-90
Установка системы впуска 7406.1115000-30
Установка турбокомпрессора 740.30-1118000
Установка электромагнитной муфты 740.35-1174005
Муфта электромагнитная привода вентилятора 740.35-1174500
Шкив со ступицей вентилятора 740.35-1174510
Установка системы охлаждения наддувочного воздуха 6560-1170001
Трансмиссия
Мосты
Мост передний 6560-2300658-20
Мост передний второй 6560-2320659-20
Мост задний 6560-2400661-20
Привод блокировки межколесных дифференциалов 6560-2411020
Мост средний 6560-2500660-20
Привод блокировки межосевого дифференциала 6560-2511021-10
Кран включения блокировки 5320-2511060
Шток 5320-2511066
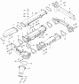
Детали первого и второго передних мостов с подкачкой воздуха
Детали первого и второго передних мостов с подкачкой воздуха
Детали первого и второго передних мостов с подкачкой воздуха
Детали первого и второго передних мостов с подкачкой воздуха
Детали первого и второго передних мостов с подкачкой воздуха
Детали первого и второго передних мостов с подкачкой воздуха
Детали среднего и заднего мостов
Детали среднего и заднего мостов
Детали среднего и заднего мостов
Детали среднего и заднего мостов
Детали среднего и заднего мостов
Детали среднего и заднего мостов
Детали среднего и заднего мостов
Детали главной передачи переднего и заднего мостов
Детали главной передачи переднего и заднего мостов
Детали главной передачи среднего моста
Детали главной передачи среднего моста
Детали главной передачи среднего моста
Детали главной передачи среднего моста
Управление
Управление
Установка рулевого колеса 6520-3400002-19
Установка колонки рулевого управления 6522-3400004-19
Установка крана регулировки рулевой колонки 6520-3406014-19
Вал карданный 6522-3422010-19
Шарнир карданный 53205-3422012
Шарнир с втулкой 6522-3422014-19
Колонка рулевого управления с кронштейном 6520-3444075-19
Колонка рулевого управления 6520-3444008-19
Колонка рулевого управления 6520-3444010-19
Установка агрегатов рулевого управления 6560-3400012-75
Сошка с подшипником 6560-3401091-75
Тяга сошки с наконечниками 6560-3414010-75
Тяга с наконечниками 6560-3414112-75
Тяга с наконечниками 6560-3414111-75
Опора задняя 6560-3414100-75
Тяга промежуточная 6560-3414130-75
Установка трубопроводов и бачков насосов ГУР 6560-3400018-75
Установка трубопроводов и бачков насосов ГУР 6560-3400018-75
Установка трубопроводов и бачков насосов ГУР 6560-3400018-75
Установка насоса рулевого усилителя 740.51-3407002-10
Насос рулевого усилителя 6520-3407200-10
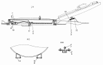
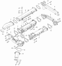
Система управления коробкой передач. Расположение на шасси 6560-4000310
Управление гидроприводом вентилятора. Расположение на автомобиле. 6560-4000017
Тормозная система
Пневмосистема
Установка пневмотормозов 6560-3500006-51
Установка пневмотормозов 6560-3500006-51
Установка пневмотормозов 6560-3500006-51
Установка осушителя 6520-3500011-16
Установка воздушных ресиверов 6560-3500013
Кран слива конденсата 16-3513110
Установка двухсекционного тормозного крана 65115-3500014
Кран тормозной двухсекционный с педалью 6520-3514008
Кран тормозной с пропорциональным клапаном и шумоглушителем 6520-3514010
Клапан контрольного вывода 16-3515310
Четырех контурный защитный клапан с соединительной арматурой 6560-3500015
Ускорительный клапан с соединительной арматурой 65201-3500018
Клапан ускорительный 100-3518010-10
Ускорительный клапан с соединительной арматурой 6560-3500018
Установка регулятора тормозных сил 6522-3500033
Установка клапана двух магистрального 6520-3500062
Установка охладителя 6520-3506180
Установка компрессора 740.30-3509004
Клапан защитный одинарный 100-3515010
Кран экстренного растормаживания 16-3515510
Камера тормозная тип 30 6560-3519310
Корпус вспомогательного тормоза с заслонкой 6460-3570014-10
Цилиндр управления заслонкой в сборе 100-3570210
Электрооборудование
Элементы электрооборудования
Электрооборудование. Расположение на автомобиле 6560-3700701-20
Установка генератора 740.35-3701001
Установка аккумуляторных батарей 6560-3703001-15
Установка стартера 740.50-3708005-10
Установка выключателей 6560-3710001-15
Установка выключателя аккумуляторной батареи 4308-3710004-30
Установка звуковых электрических сигналов 532007-3721001-10
Установка блока предохранителей 53602-3722002-10
Установка предохранителей 4308-3722001-34
Установка розетки внешнего запуска 6520-3723701
Установка розетки переносной лампы 431147-3723002
Установка розетки переносной лампы 431017-3723005
Установка розетки переносной лампы 431147-3723006
Установка бокового повторителя указателя поворота 532007-3726001
Установка прожектора 4310-3727002
Установка малогабаритного выключателя массы 4310-3737001-01
Установка термореле ЭФУ 6560-3740001-17
Установка противотуманных фар 6560-3743001-15
Установка реле 6560-3747001-56
Установка щитка приборов 6560-3805701-20
Установка датчиков аварийного давления воздуха 43114-3830002
Установка датчиков 740.62-3800001
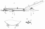
Система управления коробкой передач. Расположение на автомобиле. 6560-4000011
Система управления коробкой передач. Расположение на панели приборов 6560-4000110
Установка индикации 6560-4011035
Установка жгутов проводов коробки передач в панели приборов 6560-4070014
Установка переключателей на панели приборной 6520-4011033-13
Установка реле 6520-4012002
Установка предохранителей 65115-4012001
Установка переключателей на панели выключателей 5386-4011034
Установка переключателей на панели выключателей 4308-4011034-14
Установка жгута управления ретардером в панели приборов 6560-4070016
Система управления коробкой передач. Расположение на кабине 6560-4000210
Установка блоков на кабине 6560-4011066-10
Установка жгутов проводов коробки передач в кабине 6560-4070015
Установка крепления жгута в кабине 65115-4011057
Установка джойстика 5386-4005020
Кузов
Truck Контакты:
Адрес: г. Якутск, мкр. Марха Строда, 40 677901 Якутск,
Телефон:+7 (411) 231-87-88, Электронная почта: info@truck14.ru