+7 (411) 231-87-88
+7 (411) 231-87-88

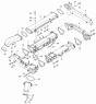
Каталог запчастей на КамАЗ 43253 - бортовой автомобиль (4x2); 740.31-240 (Euro-2), Cummins 4ISBe 185 / 6ISBe 210 (Euro-3)

2011
43253
Развернуть каталог до:
Двигатель
Основные элементы двигателя
Установка картера маховика 740.21-1002004
Шестерня ведущая привода распределительного вала 740.1029114
Шестерня ведомая привода топливного насоса 7405.1029120
Картер маховика 7405.1002310
Блок цилиндров 740.13-1002010
Блок цилиндров 740.21-1002011
Заглушка водяной полости 740.1002080
Втулка с кольцами 740.1003035
Установка головок цилиндра и механизма газораспределения 740.21-1003000
Головка цилиндра с клапанами 740.30-1003010
Головка цилиндра 740.30-1003014
Заглушка с кольцом 740.1003434
Стойка коромысел 7406.1007091
Коромысло клапана 7406.1007140
Распределительный вал 740.21-1006010
Корпус подшипника распределительного вала с втулкой 7482.1006036
Поршень с шатуном и кольцами 740.31-1004010-42
Шатун 740.1004045
Установка форсунки охлаждения поршня 7405.1004120
Клапан форсунки охлаждения поршня 7405.1004066
Установка вала коленчатого 740.13-1005007-10
Вал коленчатый 740.13-1005008-10
Установка гасителя крутильных колебаний и полумуфты отбора мощности 740.21-1005059-10
Установка шкива коленчатого вала 7406.1005060-20
Шкив 7406.1005050
Установка маховика и фиксатора 740.21-1005100-20
Маховик 7405.1005115-20
Маховик 7405.1005116
Фиксатор маховика 740.1005440-10
Установка привода отбора мощности переднего 7406-1005200
Привод агрегатов 7406.1005500
Крышка блока цилиндров передняя 7406.1002260
Корпус подшипника 7406.1005250
Вал отбора мощности 7406.1005535
Система питания
Установка топливного бака, ФГОТ и топливопроводов 65115-1100035-05
Установка топливного бака 65116-1100030
Бак топливный 53215-1101010-04
Бак топливный 53215-1101010-04
Бак топливный 53215-1101010-05
Бак топливный 53215-1101010-05
Установка крышки топливного бака 53215-1103001
Трубка приемная с фильтром 65115-1104012-02
Установка топливопроводов 740.51-1104000
Установка топливопроводов 740.51-1104000-90
Установка фильтра грубой очистки топлива и топливопроводов 43255-1105030
Установка педали электронного управления подачей топлива 5297-1108002
Управление подачей топлива 54115-1108003
Управление подачей топлива 54115-1108003-10
Толкатель 54115-1108040
Тяга ручного управления подачей топлива двигателя 5320-1108120-99
Тяга ручного останова двигателя 5425-1108130
Фильтр тонкой очистки топлива 740.51-1117010
Пружина 740.1117029
Привод управления регулятором 7406.1108000
Привод управления регулятором 7482.1108000
Кронштейн с валом привода 7406.1108030
Кронштейн с валом привода 7482.1108030
Кронштейн вала привода 7406.1108038
Тяга привода управления регулятором 7406.1108050
Тяга привода управления регулятором 7482.1108050
Наконечник тяги рычага управления регулятором 740.1108054
Установка воздушного фильтра 65115-1109001-10
Установка воздушного фильтра 43255-1109001
Установка воздухозаборника 65115-1109003-40
Установка воздухозаборника 4308-1109003
Воздухозаборник с кронштейном 65115-1109005-75
Воздухозаборник 4308-1109400
Установка тройника 6520-1109048
Фильтр воздушный 7405.1109510
Фильтр воздушный 740.1109510-03
Установка и привод ТНВД 740.31-1111000-40
Установка и привод ТНВД 740.31-1111000-90
ТНВД с фланцем и полумуфтой ведомой 740.31-1111005-90
Вал привода ТНВД 7406.1111050
Вал привода ТНВД 7482.1111050
Установка форсунки 740.50-1112000
Установка форсунки 740.30-1112000-90
Установка системы впуска 7406.1115000-30
Установка турбокомпрессора 740.30-1118000
Установка системы охлаждения наддувочного воздуха 53205-1170000
Установка системы охлаждения наддувочного воздуха 5308-1170000
Система смазки
Установка картера масляного 740.21-1009001-01
Трубка указателя уровня 740.1009048-40
Указатель уровня в сборе 740.11-1009050-01
Установка масляного насоса 740.11-1011001
Масляный насос с маслозаборником 740.11-1011005
Насос масляный с шестерней 740.11-1011010
Насос масляный 740.11-1011014-02
Крышка с клапаном 740.11-1011016-01
Крышка масляного насоса 740.11-1011019-01
Корпус насоса 740.1011018-50
Шестерня ведомая масляного насоса 740.1011030-50
Маслозаборник 7406.1011398
Установка фильтра и теплообменника 7406.1012001-30
Фильтр масляный с теплообменником 740.20-1012006
Теплообменник масляный 740.20-1013200-10
Теплообменник масляный 740.60-1013200
Сердцевина 740.20-1013210, 740.60-1013210
Фильтр очистки масла 7406.1012010
Корпус масляного фильтра 7406.1012015
Колпак масляного фильтра 740.20-1012068
Установка системы вентиляции 740.1014100-14
Трубка сапуна с втулкой 740.1014498
Угольник сапуна 7406.1014504
Установка электромагнитного клапана 7406.1022800
Установка магнитного клапана 7482.1022800-10
Клапан с кронштейном и трубкой 7406.1022860
Двигатель Cummins 4ISBe 185 (Евро-3)
Система выпуска отработавших газов
Двигатель Cummins 6ISBe 210 (Евро-3)
Трансмиссия
Сцепление
Установка педали и привода выключения сцепления 53205-1600006-30
Установка педали и привода выключения сцепления 53205-1600006-30
Установка педали и привода выключения сцепления 43255-1600006-10
Педаль сцепления с кронштейном и главным цилиндром 6520-1602008
Педаль сцепления с кронштейном и главным цилиндром 4308-1602008-30
Главный цилиндр управления сцеплением 5320-1602510-10
Бачок главного цилиндра привода сцепления 5320-1602560
Толкатель поршня главного цилиндра 5320-1602568
Картер сцепления 4308-1601008
Вилка выключения сцепления 4308-1601010
Картер сцепления 17.1601008-10
Картер сцепления 17.1601010-10
Сцепление 142.1600010-01
Диск нажимной сцепления с кожухом 142.1601090
Рычаг оттяжной с вилкой и пружиной 14.1601086
Установка сцепления и коробки передач 43255-1600005-10
Установка сцепления и коробки передач 6S700 4308-1600010-31
Установка сцепления и коробки передач 6S1000 4308-1600010-60
Установка кронштейна и ПГУ на силовой агрегат 55111-1609509
Коробка передач
Установка шумоизоляционного экрана нижнего КПП 43255-1580004
Коробка передач с делителем, управлением и деталями сцепления 152.1700250
Коробка передач 152.1700151
Коробка передач с картером сцепления 142.1700108
Коробка передач с коробкой отбора мощности 144.1700114
Коробка передач с картером сцепления 144.1700104
Коробка передач с картером сцепления 144.1700108
Коробка передач с картером сцепления 144.1700108
Картер коробки передач 14.1701010
Картер коробки передач 154.1701010
Вал первичный коробки передач 142.1701025-10
Вал первичный коробки передач 152.1701025
Вал первичный коробки передач 144.1701025
Вал первичный коробки передач со втулкой 142.1701027-10
Вал первичный с втулкой 152.1701027
Вал промежуточный 14.1701047
Вал промежуточный 154.1701047
Вал вторичный 142.1701100
Вал вторичный 154.1701100
Крышка заднего подшипника вторичного вала 14.1701200
Крышка заднего подшипника вторичного вала 14.1701201
Крышка подшипника первичного вала 14.1701039
Крышка подшипника первичного вала 14.1701039-70
Крышка подшипника первичного вала 144.1701039-10
Крышка подшипника первичного вала 144.1701039-20
Крышка заднего подшипника промежуточного вала 154.1701070
Крышка заднего подшипника вторичного вала 154.1701201
Механизм переключения передач 14.1702010
Вилка переключения 2-ой и 3-ей передач 14.1702026
Вилка переключения 4-ой и 5-ой передач 14.1702031
Привод управления механизмом переключения передач 152.1703005-22
Установка привода управления механизмом переключения передач 54115-1703005
Опора рычага переключения передач 14.1702200-10
Опора рычага переключения передач 154.1703204-20
Опора рычага переключения передач 4308-1703204
Вилка со втулками 4308.1703494
Тяга реактивная 4308.1703520
Делитель передач с управлением 152.1770011
Картер делителя передач с втулками 15.1770030
Вал первичный делителя передач 152.1770040
Вал промежуточный делителя передач 15.1770210-01
Механизм переключения делителя передач 15.1771010
Валик вилки механизма переключения с рычагом 15.1771110
Редукционный клапан управления механизмом переключения 15.1772100
Установка пневмопривода управлением переключения передач 154.1772005
Ходовая часть
Управление
Управление
Установка рулевого механизма 4310-3400012
Механизм рулевой 4310-3400020
Картер механизма рулевого управления 4310-3401010-20
Вал сошки с крышкой 4310-3401063
Редуктор угловой механизма рулевого управления 4310-3401710
Корпус углового редуктора механизма рулевого управления 4310-3401716
Крышка корпуса с манжетами 4310-3401720
Шестерня ведущая углового редуктора с корпусом 4310-3401736
Шестерня ведомая углового редуктора 4310-3401750
Клапан управления гидроусилителем руля 4310-3430012
Корпус клапана управления гидроусилителем руля 4310-3430014
Клапан обратный 5320-3430220-01
Тяга сошки 53205-3414010
Установка колонки рулевого управления 5425-3400014
Установка колонки рулевого управления 43255-3400014-19
Установка крана регулировки рулевой колонки 6520-3406014-19
Вал карданный 43255-3422010-19
Вал карданный 53205-3422010-75
Шарнир карданный 53205-3422012
Шарнир с втулкой 43255-3422014-19
Колонка рулевого управления с замком противоугонного устройства 5425-3444009
Колонка рулевого управления 5425-3444010
Колонка рулевого управления с кронштейном 6520-3444075-19
Колонка рулевого управления 6520-3444008-19
Колонка рулевого управления 6520-3444010-19
Установка насоса рулевого усилителя 740.30-3407005
Насос гидроусилителя руля 4310-3407200-20
Насос рулевого усилителя 4310-3407200-21
Насос гидроусилителя руля 4310-3407201-02
Крышка насоса рулевого усилителя 4310-3407212-02
Клапан перепускной насоса гидроусилителя рулевого управления 53212-3407270
Фильтр насоса гидроусилителя руля 4310-3407338-10
Установка трубопроводов 53205-3400018-10
Установка трубопроводов и бачка насоса ГУР 43255-3400018-19
Тяга рулевой трапеции 5297-3414052
Наконечник тяги 6520-3414055
Установка насоса ГУР 43255-3407001
Тормозная система
Пневмосистема
Установка осушителя 43114-3500011-04
Установка осушителя 43114-3500011-17
Установка воздушных ресиверов 43253-3500013
Установка воздушных ресиверов 43253-3500013
Кран слива конденсата 16-3513110
Установка двухсекционного тормозного крана 6520-3500014
Установка двухсекционного тормозного крана 6520-3500014-34
Кран тормозной двухсекционный с педалью 5320-3514108
Кран тормозной двухсекционный 100-3514108-10
Клапан контрольного вывода 16-3515310
Установка четырехконтурного защитного клапана 5320-3500015-04
Установка четырехконтурного защитного клапана 5320-3500015-10
Клапан защитный четырех контурный 53205-3515400-10
Установка ускорительных клапанов 4925-3500018
Установка ускорительных клапанов 43253-3500018-04
Установка регулятора тормозных сил 4925-3500033
Установка регулятора тормозных сил 43253-3500033-04
Регулятор тормозных сил в сборе 100-3533010
Установка кабелей АБС 53205-3500037-22
Установка кабелей АБС 43253-3500037-41
Установка кабелей АБС 43253-3500037-41
Установка кабелей АБС 43253-3500037-41
Установка модуляторов АБС 53205-3500042-41
Модуляторы с соединительной арматурой 43253-3500042-41
Установка пневмоуправления системой АБС 53205-3506042-41
Установка пневмоуправления системой АБС 43253-3506042-41
Установка клапана двух магистрального 43253-3500062
Установка охладителя 43118-3506180
Установка охладителя 65115-3506180-82
Тормоз вспомогательный и его привод 65115-3500070-82
Корпус вспомогательного тормоза с заслонкой 65115-3570014
Пневмоцилиндр вспомогательного тормоза 53205-3570205
Цилиндр пневматический ф35х65 53205-3570210
Установка компрессора 7405.3509003-10
Компрессор 53205-3509015
Картер компрессора 53205-3509018
Головка цилиндра с крышкой 53205-3509039
Крышка задняя в сборе 53205-3509088
Поршень в сборе 53205-3509154
Клапан контрольного вывода 16-3515310
Кран экстренного растормаживания 16-3515510
Установка крана тормозного обратного действия с ручным управлением 6029-3537310-20
Установка цилиндра выключения подачи топлива 5320-3570010
Установка пневмоцилиндра вспомогательного тормоза 53205-3570010-54
Цилиндр пневматический с тягой 5320-3570074-10
Пневмоцилиндр вспомогательного тормоза 53215-3570105-54
Цилиндр выключения подачи топлива пневматический 100-3570110
Датчик скорости с кронштейном 53205-3541110
Установка крана экстренного растормаживания 45104351551000
Установка подвода воздуха к компрессору тормозов 5308-3509000-01
Электрооборудование
Элементы электрооборудования
Электрооборудование. Расположение на автомобиле 43253-3700001-24
Электрооборудование. Расположение на автомобиле 43255-3700001-18
Установка аккумуляторных батарей 53215-3703001-88
Установка аккумуляторных батарей 43253-3703001-35
Установка выключателя аккумуляторной батареи 4308-3710004-30
Установка подрулевого переключателя 53215-3709002
Установка выключателей 53605-3710001-20
Установка выключателей 65115-3710001-80
Панель выключателей 53215-3710428-85
Панель выключателей 54115-3710428-50
Установка звуковых электрических сигналов 5320-3721001-10
Установка предохранителей 4308-3722001-30
Установка блока предохранителей 53602-3722002
Установка предохранителей 53205-3722501-10
Установка оборудования обогрева зеркал 65115-3741008
Установка реле 4308-3747001-50
Установка реле 6460-3747001
Установка реле 6460-3747001-50
Установка электронного реле стартера 6460-3747195
Установка генератора 7406.3701002-30
Установка стартера 740.13-3708005
Установка электрооборудования подогревателя 53205-3741001
Установка электрооборудования подогревателя ПЖД-12 53205-3741001-20
Установка электрооборудования подогревателя 53205-3741001-50
Установка электрооборудования подогревателя 65228-3741001
Установка электрооборудования подогревателя 65115-3741001
Установка электрооборудования системы подогрева топлива 65115-3741004-40
Установка контактора подогревателя воздуха 65115-3741300
Установка преобразователя напряжения 53215-3759001
Установка контактора подогревателя воздуха 65115-3741300-01
Установка боковых габаритных фонарей на переднем крыле 6460-3731001-30
Установка бокового повторителя указателя поворота 5480-3726001
Установка датчиков 740.62-3800001
Установка датчиков на двигателе 740.62-3800001-10
Установка датчиков на коробке передач 53215-3800002
Установка датчиков на коробку передач 740.62-3800002
Пломбировка спидометра 53205-3802001
Щиток приборов 53215-3805010-84
Щиток приборов 53215-3805010-84
Щиток приборов 53215-3805010-94
Щиток приборов 53215-3805010-94
Установка щитка приборов 4308-3805001-42
Щиток приборов 4308-3805010-42
Установка датчиков указателя давления воздуха 4308-3830005
Установка датчиков аварийного давления воздуха 53205-3830002
Установка датчиков аварийного давления воздуха 53205-3830002
Установка электрооборудования АБС 53215-3859001-10
Установка электрооборудования АБС 65201-3859001-40
Установка электрооборудования АБС 65201-3859001-40
Щиток приборов
Электроника. Расположение на автомобиле 4308-4000001-13
Установка датчика педали сцепления 4308-4011037
Установка предохранителей 65115-4012001
Установка переключателей на панели приборной 6520-4011033
Установка выключателя моторного тормоза 6520-4011040
Установка реле 6520-4012002
Кузов
Кабина
Переднее крепление и механизм уравновешивания кабины 54115-5000003
Переднее крепление и механизм уравновешивания кабины 5320-5000003
Переднее крепление и механизм уравновешивания кабины 65115-5000003
Кабина 53205-5000012-93
Кабина 43255-5000012-20
Кабина в рестайлинговом исполнении (высокая крыша) 43255-5000012-40
Кабина в рестайлинговом исполнении (низкая крыша) 5320-5000012-61
Кабина с дверями окрашенная 54105-5000014
Кабина с дверями окрашенная 43255-5000014-20
Кабина с дверями окрашенная (рестайлинг) 5320-5000014
Кронштейн переднего крепления кабины верхний 5320-5001010
Запор кабины правый 53205-5018010
Запор кабины левый 53205-5018011
Установка задней подвески кабины 43114-5001006-20
Установка задней подвески кабины 4308-5001006-01
Установка задней подвески кабины (рестайлинг) 65115-5001006
Рессора кабины 5320-5001080
Кронштейн запора кабины 5320-5018060
Установка ограничителя подъема кабины 43114-5002051-10
Установка ограничителя подъема кабины 4310-5002051
Установка механизма опрокидывания кабины 54115-5000079
Установка механизма опрокидывания кабины 43255-5000079-10
Гидроцилиндр МОК в сборе 43114-5003014
Цилиндр опрокидывающего механизма кабины 4310-5003014
Установка гидроцилиндра кабины 6520-5003079
Установка стеклоочистителя 6520-5205001
Установка омывателя 6520-5208004
Установка зеркал заднего вида 53205-8201002
Установка зеркал заднего вида 5460-8201002
Поручень входа 53205-8202011
Установка поручней входа 6522-8202005
Truck Контакты:
Адрес: г. Якутск, мкр. Марха Строда, 40 677901 Якутск,
Телефон:+7 (411) 231-87-88, Электронная почта: info@truck14.ru