+7 (411) 231-87-88
+7 (411) 231-87-88

Каталог запчастей на КамАЗ 65116-0001863-30 - седельный тягач (6x4); двигатель 820.60-260 (газовый) (Euro-4)

2010
65116
Развернуть каталог до:
Двигатель
Основные элементы двигателя
Установка картера агрегатов 7406.1002003
Картер агрегатов 7406.1002320
Шестерня ведущая 7406.1029115
Ось ведущей шестерни 7406.1029125
Установка картера маховика 820.52-1002004
Картер маховика 820.52-1002310
Корпус манжеты 740.37-1029170
Блок цилиндров в сборе 820.01-1002010
Блок цилиндров 740.21-1002011
Заглушка водяной полости 740.1002080
Втулка с кольцами 740.1003035
Установка головок цилиндра и механизма газораспределения 820.52-1003000
Головка цилиндра 820.52-1003005
Головка цилиндра с клапанами и стойкой коромысел 820.52-1003010
Головка цилиндра со втулками 820.52-1003014
Распределительный вал 740.21-1006010
Корпус подшипника распределительного вала с втулкой 7482.1006036
Стойка коромысел 7406.1007091
Коромысло клапана 7406.1007140
Поршень с шатуном и кольцами 820.52-1004010-40
Шатун 740.1004045
Установка форсунки охлаждения поршня 7405.1004120
Клапан форсунки охлаждения поршня 7405.1004066
Установка коленчатого вала 820.52-1005007
Коленчатый вал 820.52-1005008
Шестерня коленчатого вала 7406.1005031
Установка гасителя крутильных колебаний и полумуфты отбора мощности 740.21-1005059-10
Установка шкива коленчатого вала 740.62-1005060
Установка маховика 740.60-1005100-20
Маховик 740.60-1005115-30
Маховик 740.60-1005116-20
Установка привода отбора мощности переднего 740.62-1005200
Привод агрегатов 740.62-1005500
Крышка блока цилиндров передняя 820.01-1002260
Корпус подшипника 7406.1005250
Вал отбора мощности 740.62-1005535
Корпус заднего подшипника 740.30-1111045
Шестерня ведомая привода ТНВД 820.52-1121010
Система питания
Установка педали электронного управления подачей топлива 5297-1108002-20
Установка воздушного фильтра 65115-1109001-10
Установка воздухозаборника 65115-1109003-40
Воздухозаборник с кронштейном 65115-1109005-75
Воздухозаборник 65115-1109400-20
Установка воздушного фильтра 65116-1109001-80
Установка воздухозаборника 65116-1109003-30
Воздухозаборник с уплотнителем 65116-1109400
Воздухозаборник 65116-1109405
Установка системы впуска 820.60-1115000
Установка турбокомпрессора 820.60-1118000
Установка узла заслонки 820.52-1148000-10
Установка тройника 6520-1109048-30
Тройник 6520-1109049
Установка тройника 65116-1109048-20
Установка системы охлаждения наддувочного воздуха 65115-1170000
Установка газового оборудования 820.52-4400005-10
Установка газового коллектора правого 820.53-4415230
Установка газового коллектора левого 820.53-4415231
Фильтр очистки газа 820.53-4411010-01
Установка газового оборудования 65115-4400005-30
Установка редуктора высокого давления и электромагнитного клапана 65115-4404100-30
Установка редуктора высокого давления и электромагнитного клапана 65115-4404100-40
Установка кожуха защитного 65115-4400006
Трансмиссия
Коробка передач
Установка шумоизоляционного экрана нижнего КП 65115-1580004-12
Установка коробки передач 154.1700005-10
Коробка передач с делителем, управлением и деталями сцепления 154.1700051-20
Коробка передач 154.1700150
Картер коробки передач 154.1701010
Вал первичный коробки передач 154.1701025
Вал первичный коробки передач с зубчатой муфтой и втулкой 154.1701026
Вал первичный коробки передач с зубчатой муфтой 154.1701027
Крышка подшипника первичного вала 14.1701039
Крышка заднего подшипника промежуточного вала 154.1701070
Вал промежуточный 154.1701047
Вал вторичный 154.1701100
Крышка заднего подшипника вторичного вала 154.1701201
Механизм переключения передач 14.1702010
Крышка коробки передач верхняя 14.1702013
Вилка переключения 2-ой и 3-ей передач 14.1702026
Вилка переключения 4-ой и 5-ой передач 14.1702031
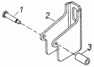
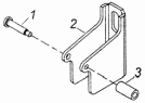
Привод управления механизмом переключения передач 154.1703005-20
Опора рычага переключения передач 154.1703204-20
Серьга со втулкой 142.1703362
Тяга реактивная в сборе 154.1703520
Делитель передач с управлением 154.1770010-20
Картер делителя передач с втулками 154.1770030
Вал первичный делителя передач 154.1770040
Вал промежуточный делителя передач 154.1770210
Механизм переключения делителя передач 15.1771010
Поршень с манжетами 15.1771050
Валик вилки механизма переключения с рычагом 15.1771110
Воздухораспределитель механизма переключения 15.1772010
Редукционный клапан управления механизмом переключения 15.1772100
Установка пневмопривода управлением переключения передач 154.1772005
Ходовая часть
Управление
Управление
Установка рулевого механизма 4310-3400012
Механизм рулевой 4310-3400020
Картер механизма рулевого управления 4310-3401010
Вал сошки с крышкой 4310-3401063
Редуктор угловой механизма рулевого управления 4310-3401710
Корпус углового редуктора механизма рулевого управления 4310-3401716
Крышка корпуса с манжетами 4310-3401720
Шестерня ведущая углового редуктора с корпусом 4310-3401736
Шестерня ведомая углового редуктора 4310-3401750
Тяга сошки 53205-3414010
Установка рулевой колонки 65117-3400014
Рулевая колонка с карданным валом 53205-3444006
Вал карданный рулевого управления 53205-3422010-10
Шарнир карданный 53205-3422012
Шарнир с втулкой 53205-3422014
Уплотнитель с втулкой 53205-3422122
Рулевая колонка 53205-3444009-30
Корпус колонки с кронштейном рулевого управления 53205-3444014
Установка трубопроводов 53205-3400018-10
Установка насоса рулевого усилителя 740.30-3407006
Насос рулевого усилителя 4310-3407200-01
Насос рулевого усилителя 4310-3407200-02
Насос гидроусилителя руля 4310-3407201-02
Крышка насоса рулевого усилителя 4310-3407212
Клапан перепускной насоса гидроусилителя рулевого управления 53212-3407270
Фильтр насоса гидроусилителя руля 4310-3407338-10
Тяга рулевого трапеции 5297-3414052
Наконечник тяги 6520-3414055
Тормозная система
Пневмосистема
Установка пневмотормозов 53205-3500006-75
Установка пневмотормозов 65115-3500006-43
Установка осушителя 43114-3500011-17
Установка воздушных ресиверов 53229-3500013-37
Установка двухсекционного тормозного крана 4308-3500014
Кран тормозной двухсекционный с педалью 65115-3514108
Установка четырехконтурного защитного клапана 5320-3500015-04
Установка четырехконтурного защитного клапана 5320-3500015-10
Клапан защитный четырехконтурный 53205-3515400-10
Установка ускорительного клапана 5320-3500018-04
Установка ускорительного клапана 5320-3500018-10
Установка клапана управления тормозами прицепа 5410-3500022-04
Установка клапана управления тормозами прицепа 5410-3500022-10
Установка регулятора тормозных сил 54112-3500033
Установка регулятора тормозных сил 54112-3500033-04
Установка двухмагистрального клапана 5320-3500062-04
Установка двухмагистрального клапана 5320-3500062-10
Установка охладителя 43118-3506180
Клапан контрольного вывода 16-3515310
Кран экстренного растормаживания 16-3515510
Установка кабелей АБС 65111-3500037-42
Установка кабелей АБС 65111-3500037-42
Установка кабелей АБС 65111-3500037-42
Установка кабелей АБС 65115-3500037-91
Установка кабелей АБС 65115-3500037-91
Установка кабелей АБС 65115-3500037-91
Установка модуляторов АБС 53205-3500042-41
Установка пневмоуправления системой АБС 53205-3506042-41
Установка пневмовыводов к полуприцепу 6460-3506500
Установка компрессора 7406.3509003
Установка компрессора 7406.3509003-11
Установка компрессора 740.30-3509004
Компрессор 53205-3509015-20
Картер компрессора 53205-3509018
Головка цилиндра с крышкой 53205-3509039-20
Крышка задняя в сборе 53205-3509088
Поршень в сборе 53205-3509154
Камера тормозная тип24 661-3519210
Тормоз вспомогательный и его привод 53205-3500070-03
Корпус вспомогательного тормоза с заслонкой 6460-3570014-10
Пневмоцилиндр вспомогательного тормоза 53205-3570205
Цилиндр пневматический ф35х65 53205-3570210
Цилиндр управления заслонкой в сборе 100-3570210
Электрооборудование
Элементы электрооборудования
Электрооборудование. Расположение на автомобиле 65115-3700012-34
Электрооборудование. Расположение на автомобиле 65116-3700001-22
Установка системы зажигания 820.52-3700005-10
Катушка зажигания в сборе 820.52-3700700
Установка генератора 740.60-3701001-30
Установка аккумуляторных батарей 65116-3703001
Установка стартера и фиксатора 740.60-3708005
Установка подрулевого переключателя 53215-3709002
Установка выключателей 65115-3710001-34
Установка выключателей 65116-3710001-22
Установка выключателя коробки отбора мощности 65228-3710002
Установка выключателя аккумуляторной батареи 4308-3710004-30
Установка звуковых электрических сигналов 5320-3721001-10
Установка предохранителей 4308-3722001-30
Установка блока предохранителей 53602-3722002
Установка розеток прицепа 43114-3723003-70
Установка розеток прицепа 6460-3723003
Установка розетки переносной лампы 53205-3723005
Установка жгута проводов 820.73-3724010
Установка термопар 820.60-3724020
Установка электрооборудования газового подогревателя 43118-3741001-30
Установка электрооборудования подогревателя на кабине 65228-3741012
Установка электрооборудования подогревателя на шасси 43118-3741013-30
Установка оборудования обогрева зеркал 65115-3741008
Установка реле 4308-3747001-50
Установка преобразователя напряжения 53215-3759001
Установка контрольных ламп 65115-3803001
Установка щитка приборов 4308-3805001-42
Щиток приборов 4308-3805010-42
Установка датчиков аварийного давления воздуха 53205-3830002
Установка датчиков аварийного давления воздуха 53205-3830002
Установка датчиков указателя давления воздуха 4308-3830005
Установка электрооборудования АБС 65201-3859001-40
Установка электрооборудования АБС 65201-3859001-40
Система управления двигателем. Расположение на автомобиле 65115-4000010-82
Система управления двигателем. Расположение на панели приборов 65115-4000100-82
Установка проводов на кабине 65115-4070004-23
Установка реле 6520-4012002
Установка предохранителей 65115-4012001
Система управления двигателем. Расположение на кабине 65115-4000200-82
Установка датчика педали сцепления 4308-4011037
Кузов
Truck Контакты:
Адрес: г. Якутск, мкр. Марха Строда, 40 677901 Якутск,
Телефон:+7 (411) 231-87-88, Электронная почта: info@truck14.ru