+7 (411) 231-87-88
+7 (411) 231-87-88

Каталог запчастей на КамАЗ 65224-0001310, 65224-0001970-22, 65224-0001971-22 - автомобиль-шасси (6x6); 740.50-360, 740.37-400 (Euro-2)

2009
65224
Развернуть каталог до:
Двигатель
Основные элементы двигателя
Установка картера агрегатов 7406.1002003
Картер агрегатов 7406.1002320
Шестерня ведущая 7406.1029115
Ось ведущей шестерни 7406.1029125
Установка картера маховика 7406.1002004-20
Установка картера маховика 740.63-1002004-10
Картер маховика 7406.1002310
Картер маховика 740.63-1002310-10
Корпус манжеты 740.37-1029170
Блок цилиндров 740.50-1002010
Блок цилиндров 740.21-1002011
Заглушка водяной полости 740.1002080
Втулка с кольцами 740.1003035
Установка головок цилиндра и механизма газораспределения 740.21-1003000
Головка цилиндра с клапанами 740.30-1003010
Головка цилиндра 740.30-1003014
Заглушка 740.1003434
Стойка коромысел 7406.1007091
Коромысло клапана 7406.1007140
Распределительный вал 740.21-1006010
Корпус подшипника распределительного вала с втулкой 7482.1006036
Поршень с шатуном и кольцами 740.51-1004010-40
Поршень с шатуном и кольцами 740.60-1004010-40
Шатун 740.1004045
Установка форсунки охлаждения поршня 7405.1004120
Клапан форсунки охлаждения поршня 7405.1004066
Установка форсунки охлаждения поршня 740.60-1004120
Установка коленчатого вала 740.50-1005007
Коленчатый вал 740.50-1005008
Установка коленчатого вала 740.35-1005007
Коленчатый вал 740.35-1005008
Шестерня коленчатого вала 7406.1005031
Установка гасителя крутильных колебаний и полумуфты отбора мощности 740.21-1005059-10
Установка шкива коленчатого вала 7406.1005060-20
Шкив 7406.1005050
Установка маховика и фиксатора 740.50-1005100-10
Маховик 740.50-1005115-10
Маховик 740.50-1005116
Фиксатор маховика 740.1005440
Установка привода отбора мощности переднего 7406-1005200
Привод агрегатов 7406.1005500
Крышка блока цилиндров передняя 740.1002260
Корпус подшипника 7406.1005250
Вал отбора мощности 7406.1005535
Система питания
Установка топливного бака, ФГОТ и топливопроводов 6522-1100035
Установка топливных баков, ФГОТ и топливопроводов 55224-1100030-10
Бак топливный 6460-1101010-01
Бак топливный 6460-1101010-03
Бак топливный 53215-1101010-03
Бак топливный 53215-1101010-03
Пробка топливного бака 65115-1103010
Трубка приемная с фильтром 65115-1104012-02
Установка кожуха защитного на топливный бак 6460-1102001
Установка педали управления подачей топлива 6520-1108002
Установка управления подачей топлива 6520-1108003
Толкатель 6520-1108040
Тяга ручного управления подачей топлива двигателя 5320-1108120-99
Тяга ручного останова двигателя 5425-1108130
Установка воздушного фильтра 6520-1109001-20
Установка воздухоочистителя мультициклонного 6520-1109003-20
Фильтр воздушный 740.51-1109510
Фильтр воздушный 7405.1109510
Элемент фильтрующий с пред-очистителем 7405.1109557
Установка системы ОНВ 65224-1170000
Корпус заднего подшипника 740.30-1111045
Шестерня, ведомая привода ТНВД 740.37-1121010
Шестерня, ведомая привода ТНВД 740.63-1121010-90
Установка топливопроводов 65115-1104002-40
Установка топливопроводов 65116-1104000-90
Установка топливопроводов 740.21-1104000
Установка топливопроводов 740.63-1104000-91
Фильтр тонкой очистки топлива 740.21-1117010
Фильтр тонкой очистки топлива 740.51-1117010
Пружина 740.1117029
Установка тройника 65116-1109048
Привод управления регулятором 7406.1108000
Кронштейн с валом привода 7406.1108030
Кронштейн вала привода 7406.1108038
Тяга привода управления регулятором 7406.1108050
Наконечник тяги рычага управления регулятором 740.1108054
Установка и привод ТНВД 740.50-1111000-20
Установка ТНВД 740.37-1111000-91
ТНВД с фланцем и полумуфтой ведомой 740.37-1111005-91
Вал привода ТНВД 7406.1111050
Вал привода ТНВД 740.37-1111050
Установка форсунки 740.50-1112000
Установка форсунки 740.50-1112000-90
Установка системы впуска 7406.1115000-30
Установка системы впуска 740.63-1115000-10
Коллектор впускной правый 7406.1115012-40
Коллектор впускной левый 7406.1115014-40
Патрубок соединительный 7406.1115030-20
Патрубок объединительный 7406.1115045-40
Тройник 7406.1115110-20
Труба подводящая 7406.1115122-10
Установка турбокомпрессоров на двигатель 740.30-1118000
Турбокомпрессор 7406.1118010
Корпус подшипников с ротором 7405.1118018
Корпус подшипников с подшипниками 7405.1118020
Ротор с колесом компрессора 7405.1118080
Насос топливный высокого давления (ТНВД) в сборе 337.1111005-20
Насос топливный высокого давления (ТНВД) в сборе 337.1111005-20
Насос топливный высокого давления (ТНВД) в сборе 337.1111005-20
Насос топливный высокого давления (ТНВД) в сборе 337.1111005-20
Топливный насос низкого давления в сборе 332.1106010
Крышка регулятора верхняя в сборе 33.1110024
Державка грузов регулятора в сборе 333.1110040
Муфта регулятора в сборе 33.1110060
Крышка регулятора задняя в сборе 333.1110128-30
Рычаг регулятора в сборе 333.1110160-32
Рычаг стартовой пружины в сборе 33.1110505
Шестерня регулятора ведущая в сборе 333.1110515-30
Шестерня регулятора промежуточная в сборе 333.1110670-30
Корректор подачи топлива по наддуву в сборе 333.1110700-30
Корпус топливного насоса в сборе 337.1111020-30
Секция топливного насоса в сборе 323.1111039-01
Вал кулачковый в сборе 337.1111050-01
Крышка подшипника с манжетой в сборе 337.1111070-21
Толкатель плунжера в сборе 337.1111110
Клапан перепускной в сборе 338.1111140-20
Рейка правая в сборе 337.1111180
Рейка левая в сборе 337.1111181
Рычаг реек в сборе 33.1111400
Топливоподкачивающий насос - РЕ8Р120А920/5RS7525 0 412 628 957
Центробежный регулятор - РQV300...1100РА1485К 0 421 815 598
Топливоподкачивающий насос - FP/KG 24Р302 0 440 008 073
Система смазки
Установка картера масляного 7406.1009001-02
Установка картера масляного 740.50-1009001-20
Трубка указателя уровня 740.1009048-30
Указатель уровня в сборе 740.11-1009050-01
Установка масляного насоса 740.11-1011001
Установка масляного насоса 740.60-1011001-20
Насос масляный с маслозаборником 740.11-1011005
Насос масляный с маслозаборником 740.60-1011005
Масляный насос с шестерней 740.11-1011010
Масляный насос с шестерней 740.60-1011010
Насос масляный 740.11-1011014-02
Крышка с клапаном 740.11-1011016-01
Крышка масляного насоса 740.11-1011019-01
Корпус насоса 740.1011018-50
Шестерня ведомая масляного насоса 740.1011030-50
Маслозаборник 7406.1011398
Установка фильтра и теплообменника 7406.1012001-30
Фильтр масляный с теплообменником 740.20-1012006
Теплообменник масляный 740.20-1013200-10
Теплообменник масляный 740.60-1013200
Сердцевина 740.20-1013210, 740.60-1013210
Фильтр очистки масла 7406.1012010
Корпус масляного фильтра 7406.1012015
Колпак масляного фильтра 740.20-1012068
Установка системы вентиляции 740.20-1014100-10
Установка системы вентиляции 740.50-1014100
Трубка сапуна с втулкой 740.1014498
Угольник сапуна 7406.1014504
Установка электромагнитного клапана 7406.1022800
Установка магнитного клапана и штифтовых факельных свечей 740.63-1022800-90
Клапан с кронштейном и трубкой 7406.1022860
Трансмиссия
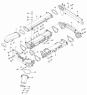
Коробка передач
Установка коробки передач 65201-1700005-40
Привод управления механизмом переключения передач 6460-1703005
Опора рычага переключения передач 6460-1703204
Тяга реактивная 6460-1703520
Установка пневмопривода управлением переключения передач 6460-1772005
Картер коробки передач с пробками
Установка нижней крышки картера и трубки распылителя
Установка картера сцепления
Вал первичный
Установка крышки первичного вала
Вал промежуточный
Установка насоса
Основной вал
Установка пробок картера
Шток вилок переключения передач
Механизм переключения передач
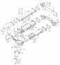
Установка боковых крышек механизма переключения передач
Установка датчиков механизма переключения передач
Комплект пружин
Механизм управления демультипликатором
Установка задней крышки картера
Картер планетарной передачи
Привод планетарной передачи
Установка заднего фланца
Синхронизатор планетарной передачи
Управление планетарной передачей
Механизм выбора передаточного числа
Вилка выключения сцепления
Установка цилиндра сцепления
Комплекты для запасных частей
Мосты
Мост передний 65227-2300633-10
Мост передний 6560-2300635-10
Мост передний 65227-2300655-10
Мост передний 6560-2300658-10
Передача главная переднего моста 6522-2302010-10
Крышка подшипника 6522-2302050
Дифференциал переднего моста 6522-2303010-10
Мост задний 65227-2400631-10
Мост задний 6560-2400638-10
Мост задний 65227-2400657-10
Мост задний 6560-2400661-10
Клапан со штуцером 5320-2401114
Картер редуктора заднего моста 6520-2402015
Передача главная заднего моста 6520-2402011-10
Шестерня ведущая заднего моста 6520-2402021-10
Стакан подшипников 6520-2402048
Крышка подшипника 6520-2402050
Крышка подшипника 6520-2402076
Сателлит дифференциала заднего моста с втулкой 53212-2403054
Дифференциал моста заднего 6520-2403011-10
Вилка блокировки 55102-2409016
Привод блокировки межколесных дифференциалов 6522-2411020
Мост средний 65227-2500632-10
Мост средний 6560-2500637-10
Мост средний 65227-2500656-10
Мост средний 6560-2500660-10
Передача главная среднего моста 6520-2502011-10
Крышка подшипника 6520-2502050
Крышка подшипника 6520-2502208
Дифференциал моста среднего 6520-2503011-10
Межосевой дифференциал среднего моста 6520-2506010
Сателлит межосевого дифференциала с втулкой 6520-2506054
Привод блокировки межосевого дифференциала 65224-2511021
Кран включения блокировки 5320-2511060
Шток 5320-2511066
Передний ведущий мост
Передний ведущий мост
Передний ведущий мост
Передний ведущий мост
Передний ведущий мост
Передний ведущий мост
Средний и задний ведущие мосты
Средний и задний ведущие мосты
Средний и задний ведущие мосты
Средний и задний ведущие мосты
Средний и задний ведущие мосты
Ходовая часть
Тормозная система
Пневмосистема
Установка пневмотормозов 65224-3500006-30
Установка пневмотормозов 65224-3500006-30
Установка пневмотормозов 65225-3500006-20
Установка пневмотормозов 65225-3500006-20
Установка пневмотормозов 65225-3500006-20
Установка пневмотормозов 65225-3500006-20
Установка осушителя 6520-3500011-16
Установка воздушных ресиверов 65224-3500013-10
Установка воздушных ресиверов 65225-3500013
Установка двухсекционного тормозного крана 65115-3500014
Установка четырехконтурного защитного клапана 6520-3500015
Установка четырехконтурного защитного клапана 65224-3500015-10
Ускорительный клапан с соединительной арматурой 6520-3500018-03
Установка ускорительного клапана 65224-3500018-10
Установка клапана управления тормозами прицепа 6520-3500022-10
Клапан управления тормозами прицепа с соединительной арматурой 6560-3500022-30
Установка регулятора тормозных сил 6522-3500033
Установка кабелей АБС 65224-3500037-41
Установка кабелей АБС 65224-3500037-41
Установка кабелей АБС 65224-3500037-41
Установка модуляторов АБС 6520-3500042-41
Установка клапана двухмагистрального 6520-3500062-10
Установка двухмагистрального клапана 65224-3500062-10
Установка охладителя 6520-3506180
Установка охладителя с влагомаслоотделителем 6520-3506180-46
Кран слива конденсата 16-3513110
Кран тормозной двухсекционный с педалью 65115-3514108
Клапан защитный одинарный 100-3515010
Клапан контрольного вывода 16-3515310
Клапан защитный четырех контурный 53205-3515400-10
Кран экстренного растормаживания 16-3515510
Головка соединительная 100-3521010
Клапан управления тормозами прицепа с одно-проводным приводом в сборе 100-3522110
Корпус вспомогательного тормоза с заслонкой 6460-3570014-10
Пневмоцилиндр вспомогательного тормоза 53205-3570205
Цилиндр пневматический d=35х65 53205-3570210
Установка компрессора 740.30-3509004
Установка цилиндра выключения подачи топлива 5320-3570010
Цилиндр пневматический с тягой 5320-3570074-10
Электрооборудование
Система освещения
Установка фар и передних указателей поворота 6520-3711001
Установка фары 5320-3711002
Установка фар дополнительных и противотуманных 65115-3711003-04
Установка защитных решеток фар 6520-3711500-13
Установка фонарей передних 6560-3712001-10
Установка плафонов 53205-3714001-10
Установка плафона освещения спального места 54105-3714002-24
Установка плафона освещения вещевого ящика 53205-3714003
Установка подкапотной лампы 5320-3715001
Установка задних фонарей 4310-3716002-61
Установка фонаря заднего хода 43114-3716006
Установка фонаря заднего противотуманного 54112-3716007
Установка электромеханического корректора 53215-3718001-85
Установка бокового повторителя указателя поворота 5320-3726001
Установка бокового повторителя указателей поворота 53215-3726001
Установка прожектора 4310-3727002
Установка боковых габаритных фонарей 6460-3731001-06
Установка малогабаритного выключателя массы 5320-3737001-01
Установка фонарей автопоезда 53205-3738001
Установка проблескового фонаря 6522-3738005
Установка габаритных фонарей 53229-3738102-85
Элементы электрооборудования
Электрооборудование. Расположение на автомобиле 65224-3700001-18
Электрооборудование. Расположение на автомобиле 65224-3700001-18
Электрооборудование. Расположение на автомобиле 65224-3700101-20
Электрооборудование. Расположение на автомобиле 5224-3700101-20
Установка электрооборудования подогревателя 65224-3700087-18
Установка аккумуляторных батарей 6350-3703001-30
Установка аккумуляторных батарей 65221-3703001
Крышка гнезда аккумуляторных батарей 5320-3703158-20
Установка выключателей 6522-3710001-23
Установка выключателей 65224-3710001-18
Установка выключателя коробки отбора мощности 65228-3710002
Установка выключателя аккумуляторной батареи 4308-3710004-30
Установка звуковых электрических сигналов 5320-3721001-10
Установка звукового сигнала заднего хода 65115-3721003-34
Установка предохранителей 4308-3722001-30
Установка блока предохранителей 53602-3722002
Установка розетки внешнего запуска 43114-3723001
Установка розетки внешнего запуска 6520-3723001
Установка розетки переносной лампы 43114-3723002
Установка розеток прицепа 6520-3723003-34
Установка розеток прицепа 65224-3723003-18
Установка розетки переносной лампы 53205-3723005
Установка розетки переносной лампы 43101-3723005
Установка розетки командира 43101-3723006
Установка термореле ЭФУ 6560-3740001-17
Установка электрооборудования подогревателя 6520-3741001-92
Установка электрооборудования системы подогрева топлива 65224-3741004-20
Установка электрооборудования воздушного отопителя 5460-3741006-35
Установка оборудования обогрева зеркал 65115-3741008
Установка таймера 6520-3741060-92
Установка противотуманных фар 6560-3743001-15
Установка реле 4308-3747001-50
Установка реле 6560-3747001-50
Установка преобразователя напряжения 53215-3759001
Установка генератора 7406.3701002-20
Установка стартера 740.50-3708005
Установка жгута проводов 740.63-3724010
Установка щитка приборов 65224-3805001-18
Установка щитка приборов 6522-3805001-23
Щиток приборов 6522-3805010-23
Установка датчиков аварийного давления воздуха 43114-3830002
Установка датчиков аварийного давления воздуха 53205-3830002
Установка датчиков аварийного давления воздуха 53205-3830002
Установка электрооборудования АБС 65201-3859001-41
Установка электрооборудования АБС 65201-3859001-41
Установка датчиков 740.62-3800001
Электроника. Расположение на автомобиле 65225-4000001
Установка переключателей на панели приборной 6520-4011033
Установка индикации на щитке приборов 5460-4011035
Установка датчика педали сцепления 4308-4011037
Установка выключателя моторного тормоза 6520-4011040
Установка реле 6520-4012002
Установка проводов на шасси 6520-4071003-63
Установка проводов на кабине 5460-4071004
Радиооборудование 6522-7900000-23
Установка фильтров радиопомех 43114-7904001
Кузов
Дополнительное оборудование
Truck Контакты:
Адрес: г. Якутск, мкр. Марха Строда, 40 677901 Якутск,
Телефон:+7 (411) 231-87-88, Электронная почта: info@truck14.ru