+7 (411) 231-87-88
+7 (411) 231-87-88

Каталог запчастей на КамАЗ 5460 - седельный тягач (4х2); 5460-0026066-73 (двигатель 740.73-400 (Euro-4)); 5460-0026066-74 (двигатель 740.74-420 (Euro-4))

13.09.2012
5460
Развернуть каталог до:
Двигатель
Основные элементы двигателя
Установка картера маховика 740.70-1002004
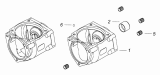
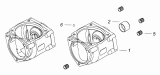
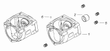
Блок цилиндров 740.70(73)-1002010
Блок цилиндров 740.21-1002011
Заглушка водяной полости 740.1002080
Картер маховика 740.70-1002310
Установка головок цилиндра и механизма газораспределения 740.90-1003000
Головка цилиндра с клапанами и стойкой коромысел 740.90-1003010
Втулка с кольцами 740.1003035
Установка цилиндропоршневой группы и форсунок охлаждения поршня 740.60-1004000-96
Поршень с шатуном и кольцами 740.60-1004010-42
Шатун 740.1004045
Установка форсунки охлаждения поршня 740.60-1004065
Установка коленчатого вала 740.50-1005007
Коленчатый вал 740.50-1005008
Шестерня коленчатого вала 7406.1005031
Установка гасителя крутильных колебаний и полумуфты отбора мощности 740.21-1005059-10
Установка шкива коленчатого вала 7406.1005060-20
Установка маховика 740.60-1005100-20
Маховик 740.50-1005115-10
Маховик 740.50-1005116
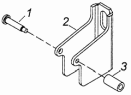
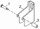
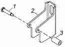
Установка привода отбора мощности переднего 740 70-1005200
Корпус подшипника 7406.1005250
Фиксатор маховика 740.1005440
Привод агрегатов 740.70-1005500-10
Распределительный вал 740.21-1006010
Стойка коромысел 7406.1007091
Коромысло клапана 7406.1007140
Система питания
Установка топливного бака, ФГОТ и топливопроводов 6540-1100068-63
Установка топливного бака, ФГОТ и топливопроводов 6540-1100068-63
Установка крышки топливного бака 53215-1103001
Установка топливопроводов 740.70-1104000
Установка топливопроводов 65115-1104004-70
Штуцер 740.70-1104230
Установка воздушного фильтра 6520-1109001-60
Фильтр воздушный в сборе с переходником и патрубком сдатчиком 6520-1109002-60
Установка воздухозаборника 6520-1109003-60
Воздухозаборник с уплотнителем 6520-1109400-61
Установка ТНВД 740.90-1111000
Редуктор привода ТНВД 740.90-1111005-10
Корпус редуктора привода ТНВД с подшипником и втулками 740 90-1111010
Крышка редуктора привода ТНВД с подшипником 740.90-1111020
Вал редуктора привода ТНВД с подшипниками 740.90-1111030-10
Колесо редуктора привода ТНВД в сборе 740.90-1111040-10
Установка форсунки 740.90-1112000
Установка системы впуска 740.74-1115000
Коллектор впускной правый 740.90-1115012-10
Коллектор впускной левый 740.90-1115014-10
Патрубок соединительный 740.63-1115030-20
Патрубок объединительный 7406.1115045-40
Труба подводящая 7406.1115122-10
Установка турбокомпрессора на двигатель 740.74-1118000
Установка насоса дозирующего 5460-1208500-10
Установка насоса дозирующего 5460-1208500-20
Насос дозирующий 5460-1208550-20
Клапан 6520-1208650-10
Клапан 6520-1208650-20
Клапан 6520-1208650-30
Система смазки
Установка картера масляного 740.63-1009001-20
Трубка указателя уровня с кольцом 740.50-1009048
Указатель уровня в сборе 740.11-1009050-01
Установка масляного насоса 740.60-1011001
Насос масляный с маслозаборником 740.60-1011005
Масляный насос с шестерней 740.60-1011010
Насос масляный 740.11-1011014-02
Крышка с клапаном 740.11-1011016-01
Корпус насоса 740.1011018-50
Крышка масляного насоса 740 11-1011019-01
Шестерня ведущая 740.70-1029115
Ось ведущей шестерни 740.30-1029125
Шестерня ведомая масляного насоса 740.1011030-50
Маслозаборник 7406.1011398
Установка фильтра и теплообменника 740.90-1012001
Фильтр масляный с теплообменником 740.90-1012006
Фильтр очистки масла 7406.1012010
Корпус масляного фильтра 7406.1012015
Колпак масляного фильтра 740.20-1012068
Теплообменник масляный 740.90-1013200
Установка системы вентиляции 740.63-1014100
Установка магнитного клапана и штифтовых факельных свечей 740.70-1022800
Клапан с кронштейном, штуцером и трубкой 740.70-1022860-10
Трансмиссия
Коробка передач
Установка коробки передач на двигатель 5490-1700005
Установка коробки передач на двигатель 6520-1700005-30
Установка привода управления механизмом переключения передач 6520-1703005-41
Опора рычага переключения передач 53602-1703204
Тяга 6540-1703325-06
Тяга реактивная 43085-1703520
Кронштейн с осью и скобой 6540-1703520-06
Установка пневмопривода управлением переключения передач 6460-1772005-04
Картер коробки передач с пробками
Установка нижней крышки картера и трубки распылителя
Установка картера сцепления
Первичный вал
Установка крышки первичного вала
Промежуточный вал
Установка насоса
Основной вал
Установка пробок картера
Штоки вилок переключения передач
Механизм переключения передач
Установка боковых крышек механизма переключения передач
Установка датчиков механизма переключения передач
Комплект пружин
Механизм управления демультипликатором
Установка задней крышки картера
Картер планетарной передачи
Привод планетарной передачи
Установка заднего фланца
Синхронизатор планетарной передачи
Управление планетарной передачей
Механизм выбора передаточного числа
Вилка выключения сцепления
Установка цилиндра сцепления
Комплекты для запасных частей
Ходовая часть
Тормозная система
Пневмосистема
Установка пневмопривода 5460-3500006-05
Установка пневмопривода 5460-3500006-06
Установка осушителя 6520-3500011-86
Установка двухсекционного тормозного крана 6520-3500014-34
Установка пневмопривода в кабине 5460-3500080-05
Установка пневмопривода в кабине 5460-3500080-05
Тормоз передний 6520-3501011-12
Тормоз передний 6520-3501011-12
Суппорт тормоза 6520-3501012
Колодка тормоза с накладками 6520-3501090-40
Колодка тормоза с накладками 6520-3501090-41
Кронштейн тормозной камеры и разжимного кулака 6520-3501121
Установка блока управления тормозами передней оси 6460-3506001
Установка блока управления тормозами заднего моста 5460-3506002
Установка охладителя 65201-3506170-02
Охладитель 65201-3506174-07
Установка пневмовыводов к полуприцепу 5460-3506500-05
Установка компрессора 7406.350900305
Установка компрессора 740.30-350900401
Компрессор 53205-3509015-20
Картер компрессора 53205-3509018
Головка цилиндра с крышкой 53205-3509039-20
Крышка задняя в сборе 53205-3509088
Поршень в сборе 53205-3509154
Блок подготовки воздуха 6520-3511001
Осушитель 6520-3511001-86
Установка ресиверов 5460-3513005-05
Блок ресиверов в сборе с фитингами 5460-3513011
Ресивер 6520-3513011-86
Блок ресиверов в сборе с фитингами 5460-3513012
Блок ресиверов в сборе с фитингами 5460-3513014
Кран тормозной двухсекционный с педалью 5320-3514108
Ускорительный клапан с глушителем 5350-3518001-01
Блок управления тормозами задней тележки 5460-3518010-02
Головка соединительная автоматическая правая в сборе с трубопроводом спиральным 54115-3521110
Клапан управления тормозами прицепа с сеткой 5350-3522001-01
Клапан накачки шин и кран экстренного растормаживания 5460-3531010
Блок модуляторов АБС 5460-3542005
Блок модуляторов АБС 5460-3542007-06
Клапан электромагнитный с фитингами 6460-3570009
Корпус вспомогательного тормоза с заслонкой 65115-3570010-04
Корпус вспомогательного тормоза с заслонкой 65115-3570014-04
Пневмоцилиндр вспомогательного тормоза 53205-3570205
Цилиндр пневматический ф35х65 53215-3570210
Электрооборудование
Система освещения
Элементы электрооборудования
Электрооборудование. Расположение на автомобиле 5460-3700001-66
Установка кнопки управления АЦС 65115-3700014
Электрооборудование. Расположение на панели приборов 5460-3700060-66
Установка генератора 740.60-3701001-10
Установка аккумуляторных батарей 65115-3703001-30
Установка стартера и фиксатора 740.60-3708005
Установка выключателя аккумуляторной батареи 5308-3710004
Установка выключателей 65115-3710001-63
Установка выключателя ЭФУ 65115-3710007
Установка таблички регулировки пучка света фар 6560-3711040
Установка блока управления корректором фар 6520-3718001
Установка звуковых электрических сигналов 5320-3721001-10
Установка силовых предохранителей 5308-3722001
Установка блока предохранителей 65115-3722002
Установка розеток прицепа 6460-3723003
Установка розетки переносной лампы 53205-3723005
Установка проводов на панели приборов 5460-3724002-66
Установка проводов на панели приборов 5460-3724002-66
Установка жгута проводов 740.70-3724010
Установка блока управления 740.70-3724050
Блок управления в сборе 740.70-3724060
Кляммер в сборе с втулкой 740.70-3724655
Установка выключателя массы 6540-3737001
Установка блока управления ЭФУ 6520-3740001
Установка электрооборудования подогревателя 5308-3741001
Установка электрооборудования воздушного отопителя 5460-3741006-34
Установка электрооборудования системы подогрева топлива на панели 65111-3741016-70
Установка оборудования обогрева зеркал 65115-3741017
Установка электрооборудования обогрева зеркал на кабине 65115-3741018
Установка реле и блока управления электрооборудованием 5308-3747005
Установка заглушек 740.62-3800001-55
Установка щитка приборов 5308-3805001
Щиток приборов 5308-3805010
Установка датчиков указателя давления воздуха 4308-3830005
Установка датчиков аварийного давления воздуха 53205-3830002
Установка датчиков аварийного давления воздуха 53205-3830002
Установка тахографа 65115-3840001
Система управления двигателем Расположение на автомобиле 6520-4000010-74
Система управления коробкой передач. Расположение на автомобиле 5460-4000011-11
АБС. Расположение на автомобиле 5460-4000012-11
Система управления пневматической подвеской. Расположение на автомобиле. 4308-4000013-10
Система нейтрализации. Расположение на автомобиле 6520-4000016
АБС. Расположение на панели приборов 43253-4000120-10
Система управления пневматической подвеской 4308-4000130-10
АБС. Расположение на кабине 43253-4000220-10
Система управления пневматической подвеской 4308-4000230
АБС. Расположение на шасси 5460-4000320-11
Система управления пневматической подвеской. Расположение на шасси. 4308-4000330-10
Пневмоуправление ECAS 5460-4005001-05
Установка блока управления пневматической подвески 4308-4011040
Установка кронштейна пульта управления пневматической подвески 4308-4011041
Установка пульта управления пневматической подвески 4308-4011042
Установка выключателя диагностики 4308-4012004
Электромагнитный клапан ECAS с соединительной арматурой 5460-4030010-05
Установка датчиков положения кузова 5460-4055002-05
Радиооборудование. Расположение на панели приборов 4308-7900010
Радиооборудование. Расположение на кабине 4308-7900020
Кузов
Элементы облицовочные
Капотирование нижнее моторного отсека 6520-1080010-20
Установка нижнего шумоизоляционного экрана КПП 5308-1580004-10
Установка облицовок порогов 53205-5101250
Установка запоров дверок инструментальных ящиков 5460-5108075
Установка заводских боковых знаков 6520-8212008-01
Установка маркировки светоотражающей на кабине 65115-8212180
Установка знаков двигателя 65115-8212291-57
Установка знаков двигателя 65115-8212291-14
Установка оперения кабины 43255-8400006
Установка облицовочной панели 63501-8401009
Панель облицовочная 5520-8401010
Замок панели 5320-8406010
Личинка замка панели 5320-8406100
Установка задней части переднего крыла правая 6520-8403010-42
Установка задней части переднего крыла левая 6520-8403011-42
Установка задних крыльев 5480-8404003-10
Установка задних крыльев 5460-8404003-50
Установка настила рамы 5460-8404400-20
Установка настила рамы 5460-8404400-30
Установка поручня 5460-8404522-20
Установка подножек левая 5460-8405011
Установка козырька солнцезащитного 6460-8415002-15
Установка облицовки буфера 5460-8416012-10
Установка облицовки буфера 5460-8416012-50
Дополнительное оборудование
Truck Контакты:
Адрес: г. Якутск, мкр. Марха Строда, 40 677901 Якутск,
Телефон:+7 (411) 231-87-88, Электронная почта: info@truck14.ru