+7 (411) 231-87-88
+7 (411) 231-87-88

Каталог запчастей на КамАЗ 65225 - седельный тягач (6x6); 740.50-360 (Euro-2), 740.37-400 (Euro-3)

16.12.2012
65225
Развернуть каталог до:
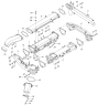
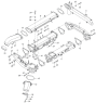
Двигатель
Основные элементы двигателя
Установка патрубка и штуцера системы подогрева двигателя 65225-1015002
Установка картера маховика 740.35-1002004-10
Установка картера маховика 740.70-1002004
Блок цилиндров 740.21-1002011
Блок цилиндров для поставки в запасные части 740.21-1002012
Заглушка водяной полости 740.1002080
Втулка с кольцами 740.1003035
Картер маховика 740.35-1002310-10
Картер маховика 740.70-1002310
Крышка блока цилиндров передняя 740.1002260
Крышка блока цилиндров передняя 740.63-1002260
Установка головок цилиндра и механизма газораспределения 740.21-1003000
Головка цилиндра с клапанами 740.30-1003010
Головка цилиндра 740.30-1003014
Заглушка с кольцом 740.1003434
Установка цилиндропоршневой группы и форсунок охлаждения поршня 740.50-1004000
Установка цилиндропоршневой группы и форсунок охлаждения поршня 740.60-1004000
Поршень с шатуном и кольцами 740.60-1004010-80
Шатун 740.1004045
Установка коленчатого вала 740.50-1005007
Установка коленчатого вала 740.63-1005007
Вал коленчатый 740.50-1005008
Вал коленчатый 740.60-1005008
Вал коленчатый 740.63-1005008
Установка гасителя крутильных колебаний и полумуфты отбора мощности 740.21-1005059-10
Установка шкива коленчатого вала 7406.1005060-20
Шкив 7406.1005050
Шестерня коленчатого вала 7406.1005031
Установка маховика 740.37-1005100-10
Установка маховика и фиксатора 740.50-1005100-10
Установка маховика 740.60-1005100-20
Маховик 740.50-1005115-10
Маховик 740.50-1005116
Фиксатор маховика 740.1005440
Установка привода отбора мощности переднего 740.70-1005200
Установка привода отбора мощности переднего 7406-1005200
Привод агрегатов 740.70-1005500-10
Привод агрегатов 7406.1005500
Корпус подшипника 7406.1005250
Вал отбора мощности 740.30-1005535
Вал отбора мощности 7406.1005535
Распределительный вал 740.21-1006010
Корпус подшипника распределительного вала с втулкой 7482.1006036
Стойка коромысел 7406.1007091
Коромысло клапана 7406.1007140
Система питания
Шестерня ведущая 740.70-1029115
Вал привода ТНВД 740.65-1029120
Ось ведущей шестерни 740.30-1029125
Корпус манжеты 740.37-1029170
Корпус заднего подшипника 740.51-1029175
Установка топливного бака, фильтра грубой очистки топлива и топливопроводов 6520-1100055-50
Бак топливный 53215-1101010-05
Установка топливопроводов 740.60-1104000
Установка топливопроводов 740.63-1104000-91
Установка топливопроводов 740.51-1104001
Установка топливопроводов 65115-1104002-40
Установка топливопроводов 65116-1104000-90
Клапан в сборе 740.51-1104020
Привод управления регулятором 7406.1108000
Установка педали управления подачей топлива 6520-1108002
Управление подачей топлива 6520-1108003
Кронштейн с валом привода 7406.1108030
Кронштейн вала привода 7406.1108038
Тяга привода управления регулятором 7406.1108050
Наконечник тяги рычага управления регулятором 740.1108054
Толкатель 6520-1108040
Наконечник 5320-1108054
Тяга ручного управления подачей топлива двигателя 5320-1108120-99
Тяга ручного останова двигателя 5425-1108130
Установка воздушного фильтра 6520-1109001-20
Установка воздушного фильтра 65225-1109001
Установка воздухоочистителя мультициклонного 6520-1109003-20
Воздухоочиститель со стойками 6520-1109005-20
Установка тройника 65116-1109048
Фильтр воздушный 7405.1109510
Установка и привод ТНВД 740.37-1111000
Установка ТНВД 740.37-1111000-91
Установка и привод ТНВД 740.50-1111000-20
ТНВД с фланцем и полумуфтой ведомой 740.37-1111005-91
Вал привода ТНВД 7405.1111050
Установка форсунки 740.35-1112000
Установка форсунки 740.50-1112000
Установка форсунки 740.50-1112000-90
Установка форсунок ОАО
Форсунка 273.1112010-20, 273.1112010-50
Установка системы впуска 740.63-1115000-10
Установка системы впуска 7406.1115000-30
Коллектор впускной правый 406.1115012-40
Коллектор впускной левый 7406.1115014-40
Патрубок соединительный 7406.1115030-20
Патрубок объединительный 7406.1115045-40
Тройник 7406.1115110-20
Труба подводящая 7406.1115122-10
Фильтр тонкой очистки топлива 740.51-1117010
Пружина 740.1117029
Установка турбокомпрессоров на двигатель 740.30-1118000
Турбокомпрессор 7406.1118010
Корпус подшипников с ротором 7405.1118018
Корпус подшипников с подшипниками 7405.1118020
Ротор с колесом компрессора 7405.1118080
Установка системы охлаждения наддувочного воздуха 5460-1170000
Установка системы ОНВ 6520-1170000
Теплообменник охлаждения наддувочного воздуха 6520-1170300
Система смазки
Установка картера масляного 740.51-1009001-10
Трубка указателя уровня с кольцом 740.50-1009048
Указатель уровня в сборе 740.11-1009050-01
Установка масляного насоса 740.11-1011001
Установка масляного насоса 740.60-1011001
Насос масляный с маслозаборником 740.11-1011005
Масляный насос с шестерней 740.11-1011010
Масляный насос с шестерней 740.60-1011010
Насос масляный 740.11-1011014-02
Крышка с клапаном 740.11-1011016-01
Крышка масляного насоса 740.11-1011019-01
Шестерня ведомая масляного насоса 740.1011030-50
Корпус насоса 740.1011018-50
Маслозаборник 7406.1011398
Установка фильтра и теплообменника 7405.1012001
Установка фильтра и теплообменника 7406.1012001-30
Фильтр масляный с теплообменником 740.20-1012006
Фильтр очистки масла 7406.1012010
Корпус масляного фильтра 7406.1012015
Колпак масляного фильтра 740.20-1012068
Теплообменник масляный 740.20-1013200-10
Сердцевина 740.20-1013210
Установка системы вентиляции 740.63-1014100
Установка патрубка и штуцера системы подогрева двигателя 65225-1015002
Установка магнитного клапана и штифтовых факельных свечей 740.60-1022800-10
Установка магнитного клапана и штифтовых факельных свечей 740.63-1022800-90
Установка электромагнитного клапана 7406.1022800
Клапан с кронштейном и трубкой 740.50-1022860
Клапан с кронштейном и трубкой 7406.1022860
Система охлаждения
Установка радиатора 5460-1300023-10
Установка радиатора 6520-1300023
Установка блока охлаждения 65225-1300023
Блок охлаждения 65225-1301005
Установка кожуха защитного радиатора 6520-1301500
Установка кожуха защитного радиатора 65224-1301500-30
Установка кожуха защитного радиатора 65225-1301500
Установка водяных труб 7406.1303002
Установка водяных труб 65225-1303400
Установка трубы байпасной 5490-1303090
Труба водяная правая 7406.1303100-10
Труба водяная левая 7406.1303101-10
Установка корпуса водяных каналов 740.11-1303005
Установка корпуса водяных каналов 740.63-1303005-20
Корпус водяных каналов 740.11-1303010
Корпус водяных каналов с термостатами 740.63-1303010-20
Установка кранов сливных системы охлаждения привода управления 740.13-1305010
Кран сливной системы охлаждения 5320-1305010
Пробка крана 5320-1305015
Пробка с шариком и держателем 5320-1305030
Установка водяного насоса 740.63-1307005
Установка водяного насоса 7406.1307005
Водяной насос 740.50-1307010
Насос водяной 740.63-1307010
Установка вентилятора с вязкостной муфтой 740.60-1308005
Установка вентилятора с вязкостной муфтой 740.62-1308005
Установка вентилятора 740.37-1308010
Установка расширительного бачка 6520-1311005
Установка расширительного бачка 65225-1311005
Установка электромагнитной муфты 740.37-1317005
Муфта электромагнитная привода вентилятора 740.30-1317500-02
Шкив со ступицей вентилятора 740.30-1317510-02
Ступица вентилятора с фрикционным диском 740.30-1317520-20
Шкив привода генератора и водяного насоса 740.50-1317530-20
Катушка электромагнитная 740.30-1317540
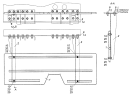
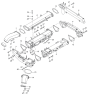
Трансмиссия
Коробка передач
Установка гидромеханической передачи 65225-1700005-10
Привод управления механизмом переключения передач 6460-1703005
Опора рычага переключения передач 6460-1703204
Тяга 6460-1703349
Тяга реактивная 6460-1703520
Установка теплообменника 65225-1714005
Установка пневмопривода управлением переключения передач 6460-1772005
Картер коробки передач с пробками
Установка нижней крышки картера и трубки распылителя
Установка картера сцепления
Первичный вал
Установка крышки первичного вала
Промежуточный вал
Установка насоса
Основной вал
Установка пробок картера
Штоки вилок переключения передач
Механизм переключения передач
Установка боковых крышек механизма переключения передач
Установка датчиков механизма переключения передач
Комплект пружин
Механизм управления демультипликатором
Установка задней крышки картера
Картер планетарной передачи
Привод планетарной передачи
Установка заднего фланца
Синхронизатор планетарной передачи
Управление планетарной передачей
Механизм выбора передаточного числа
Вилка выключения сцепления
Установка цилиндра сцепления
Комплекты для запасных частей
Мосты
Мост передний 6522-2300319-10
Мост передний 6522-2300650-10
Передача главная переднего моста 6522-2302010-10
Крышка подшипника 6522-2302050
Дифференциал переднего моста 6522-2303010-10
Мост задний 6522-2400321-10
Мост задний 6522-2400651-10
Мост задний 6522-2400751-10
Клапан со штуцером 5320-2401114
Сапун 43081-2401114
Крышка подшипника 6520-2402076
Передача главная заднего моста 6520-2402011-10
Картер редуктора заднего моста 6520-2402015
Стакан подшипников 6520-2402048
Шестерня ведущая коническая 6520-2402021-10
Крышка подшипника 6520-2402050-01
Дифференциал моста заднего 6520-2403011-10
Сателлит дифференциала заднего моста с втулкой 53212-2403054
Вилка блокировки 55102-2409016
Привод блокировки межколесных дифференциалов 6522-2411020
Мост средний 6522-2500320-10
Мост средний 6522-2500652-10
Мост средний 6522-2500752-10
Передача главная среднего моста 6520-2502011-10
Картер редуктора среднего моста 6520-2502015
Крышка подшипника 6520-2502050-01
Крышка подшипника 6520-2502208-01
Дифференциал моста среднего 6520-2503011-10
Межосевой дифференциал среднего моста 6520-2506010
Сателлит межосевого дифференциала с втулкой 6520-2506054
Привод блокировки межосевого дифференциала 6520-2511021
Установка блокировки межосевого и межколесных дифференциалов 6520-2511021-80
Кран включения блокировки 5320-2511060
Шток 5320-2511066
Передний ведущий мост MADARA
Передний ведущий мост MADARA
Передний ведущий мост MADARA
Передний ведущий мост MADARA
Передний ведущий мост MADARA
Передний ведущий мост MADARA
Средний и задний ведущий мост MADARA
Средний и задний ведущий мост MADARA
Средний и задний ведущий мост MADARA
Средний и задний ведущий мост MADARA
Средний и задний ведущий мост MADARA
Средний и задний ведущий мост MADARA
Передняя и задняя главная передача
Передняя и задняя главная передача
Средняя главная передача
Средняя главная передача
Средняя главная передача
Средняя главная передача
Ходовая часть
Управление
Управление
Установка рулевого колеса 6520-3400002-19
Установка рулевого колеса 5460-3400002-19
Установка круиз-контроля 6520-3400006-19
Установка колонки рулевого управления 6520-3400004-40
Установка крана регулировки рулевой колонки 6520-3406014-19
Колонка рулевого управления с карданным валом 6520-3444006-30
Колонка рулевого управления с кронштейном 6520-3444075-19
Колонка рулевого управления 6520-3444008-19
Колонка рулевого управления 6520-3444010-19
Вал карданный 6520-3422008-30
Вал карданный 6520-3422010-30
Вал карданный 6520-3422010-31
Шарнир с втулкой 6520-3422014-30
Шарнир с корпусом подшипника 6520-3422012-30
Установка рулевого управления 65222-3400012
Установка рулевого управления 65225-3400012, 65225-3400012-10
Установка рулевой колонки 6520-3400014
Установка трубопроводов рулевого управления 65222-3400018
Установка трубопроводов ГУР 65222-3400018-20
Установка трубопроводов 6520-3400018-34
Сошка с подшипником 65222-3401091
Сошка с подшипником 65225-3401091
Установка насоса рулевого усилителя 6540-3407005
Установка насоса рулевого усилителя 6520-3407005-01
Тяга сошки 6522-3414010
Тяга сошки 65225-3414010
Вал карданный рулевого управления 6522-3422010
Шарнир карданный 53205-3422012
Шарнир со втулкой 6522-3422014
Уплотнитель с втулкой 53205-3422122
Рулевая колонка с карданным валом 6522-3444006
Рулевая колонка 53205-3444009-30
Корпус колонки с кронштейном рулевого управления 53205-3444014
Вал рулевой колонки 53205-3444032-30
Кожух колонки передний 53205-3444069
Тормозная система
Пневмосистема
Установка пневмотормозов 65225-3500006-43
Установка пневмотормозов 65225-3500006-43
Установка пневмотормозов 65225-3500006-43
Установка пневмотормозов 65225-3500006-49
Установка пневмотормозов 65225-3500006-49
Установка пневмотормозов 65225-3500006-36
Установка пневмотормозов 65225-3500006-36
Установка осушителя 6520-3500011-16
Установка осушителя 6520-3500011-86
Установка воздушных ресиверов 65225-3500013
Установка двухсекционного тормозного крана 65115-3500014
Установка четырехконтурного защитного клапана 6520-3500015
Установка четырехконтурного защитного клапана 6520-3500015-31
Установка клапана управления тормозами прицепа 6520-3500022-10
Ускорительный клапан с соединительной арматурой 6520-3500018-03
Установка регулятора тормозных сил 6522-3500033
Установка кабелей АБС 6520-3500037-41
Установка кабелей АБС 6520-3500037-41
Установка клапана двуxмагистрального 6520-3500062-10
Установка двуxмагистрального клапана 65225-3500062-34
Установка пневмопривода в кабине 5460-3500080-05
Установка пневмопривода в кабине 5460-3500080-05
Установка двухсекционного тормозного крана 6520-3500014-34
Кран тормозной двухсекционный с педалью 5320-3514108
Кран тормозной двухсекционный 100-3514108-10
Клапан контрольного вывода 16-3515310
Установка пневмоуправления системой АБС 6520-3506042
Установка пневмоуправления системой АБС 6520-3506042
Установка охладителя 6520-3506180
Установка охладителя 65222-3506180
Установка пневмовыводов к полуприцепу 65225-3506500
Установка компрессора 65115-3509001-03
Установка компрессора 7406.3509003-03
Компрессор 53205-3509015-20
Картер компрессора 53205-3509018
Головка цилиндра с крышкой 53205-3509039-20
Крышка задняя в сборе 53205-3509088
Поршень в сборе 53205-3509154
Ресивер регенерационный 6520-3511013
Ресивер 53205-3513015
Кран тормозной двухсекционный с педалью 65115-3514108
Клапан защитный четырехконтурный 53205-3515400-10
Блок управления тормозами задней тележки 6520-3518010-83
Ускорительный клапан с глушителем 2233-3518010-20
Тормозная камера тип 30/24 6520-3519500
Тормозная камера тип 30 6522-3519310
Клапан накачки шин и кран экстренного растормаживания 5460-3531010
Блок модуляторов АБС 5460-3542005-06
Блок модуляторов АБС WABCO 65225-3542007-36
Установка цилиндра выключения подачи топлива 5320-3570010
Корпус вспомогательного тормоза с заслонкой 6460-3570014-10
Пневмоцилиндр вспомогательного тормоза 53205-3570205
Цилиндр пневматический ф35х65 53205-3570210
Электрооборудование
Элементы электрооборудования
Электрооборудование. Расположение на автомобиле 65225-3700001-22
Электрооборудование. Расположение на автомобиле 65225-3700001-32
Электрооборудование. Расположение на панели приборов 65225-3700060-22
Электрооборудование. Расположение на панели приборов 65225-3700060-24
Электрооборудование. Расположение на панели приборов 65225-3700060-32
Электрооборудование. Расположение на автомобиле 65225-3700001-50
Электрооборудование. Расположение на панели приборов 65225-3700060-50
Установка выключателей 65225-3710001-40
Установка выключателя коробки отбора мощности 65228-3710002
Установка выключателя аккумуляторной батареи 4308-3710004-30
Установка выключателя ЭФУ 65115-3710007
Установка звуковых электрических сигналов 5320-3721001-10
Установка предохранителей 4308-3722001-30
Установка блока предохранителей 53602-3722002
Установка розетки внешнего запуска 43114-3723001
Установка розетки переносной лампы 65225-3723002
Установка розетки переносной лампы 43114-3723002
Установка розеток прицепа 6450-3723003
Установка розетки переносной лампы 43114-3723006
Установка жгута проводов 740.62-3724010-10
Установка жгута проводов 740.61-3724010
Установка розетки переносной лампы 43101-3723005
Установка блока управления ЭФУ 6520-3740001
Установка электрооборудования подогревателя 65225-3741001
Установка электрооборудования подогревателя 65228-3741001
Установка электрооборудования системы подогрева топлива 65115-3741004-60
Установка электрооборудования системы подогрева топлива 65115-3741004-61
Установка электрооборудования системы подогрева топлива на панели приборов 65115-3741016-60
Установка электрооборудования воздушного отопителя 5460-3741006-35
Установка оборудования обогрева зеркал 65115-3741017
Установка электрооборудования обогрева зеркал на кабине 65115-3741018
Установка таймера 65228-3741060
Установка реле 6560-3747001-50
Установка преобразователя напряжения 53215-3759001
Установка датчиков 740.62-3800001
Установка контрольных ламп 65225-3803001-22
Установка датчиков аварийного давления воздуха 43114-3830002
Установка датчиков указателя давления воздуха 4308-3830005
Установка электрооборудования АБС 65201-3859001-41
Установка электрооборудования АБС 65201-3859001-41
Установка электрооборудования АБС 53215-3859001-41
Установка электрооборудования АБС 53215-3859001-41
Электроника. Расположение на автомобиле 5460-4000001-63
Система управления двигателем. Расположение на автомобиле 65225-4000010-61
Установка датчика педали сцепления 4308-4011038
Установка индикации на щитке приборов 6520-4011035
Установка переключателей на панели приборной 6520-4011033
Установка выключателя моторного тормоза 6520-4011040
Установка крепления жгута в кабине 65115-4011057
Установка реле 6520-4012002
Установка электронных блоков управления 5460-4071014
Установка предохранителей 65115-4012001
Установка жгута промежуточного на кабине 5460-4071010
Установка проводов на кабине 5460-4071004
Система управления коробкой передач. Расположение на автомобиле 65225-4000011
Система управления АБС. Расположение на автомобиле 65225-4000012
Радиооборудование. Расположение на панели приборов 4308-7900010
Радиооборудование. Расположение на кабине 4308-7900020
Установка фильтров радиопомех 5350-7904001
Кузов
Кабина
Установка кабины с оперением 65224-5000006-10
Установка кабины с оперением 65225-5000006-82
Установка передней подвески кабины 65201-5000003
Переднее крепление и механизм уравновешивания кабины 6520-5000003
Кабина с дверями окрашенная 65224-5000014-10
Кабина с дверями окрашенная 65225-5000014-82
Установка механизма опрокидывания кабины 6520-5000079-70
Установка механизма опрокидывания кабины 6520-5000079-50
Установка механизма опрокидывания кабины 6520-5000079-50
Установка задней подвески кабины 65115-5001006
Установка задней подвески кабины 65201-5001006
Кронштейн переднего крепления кабины верхний 5320-5001010
Рессора кабины 5320-5001080
Кронштейн гидрозамка кабины 65115-5018050
Установка ограничителя подъема кабины 6520-5002051
Установка ограничителя подъема кабины 65201-5002051-10
Установка стеклоочистителя 6520-5205001
Установка омывателя 6520-5208004
Панель передка боковая съемная 5320-5301047-10
Ручка передка 53205-5310010
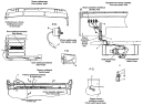
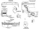
Установка зеркал заднего вида 65225-8201002
Элементы облицовочные
Установка световозвращателей на кабине 53212-8208001
Установка боковых световозвращателей 54115-8208002-85
Установка боковых световозвращателей 54112-8208002
Установка заводских боковых знаков 53229-8212008-01
Установка знаков двигателя и
Установка знаков двигателя 65115-8212291-54
Установка надоконной полки и противосолнечных козырьков 54115-8213005
Панель облицовочная 53205-8401010
Установка оперения кабины 6560-8400006-20
Установка оперения кабины 65222-8400006-30
Установка задней части переднего крыла правая 65115-8403010-04
Установка задней части переднего крыла левая 65115-8403011-04
Установка задних крыльев 6522-8404005
Установка задних крыльев 65225-8404005-40
Установка настила 65225-8404100
Установка настила топливного бака 65225-8404400-20
Установка нижней подножки левая 6560-8405011
Установка подножек левая 65222-8405011
Установка подножки дополнительной 65222-8405020
Установка лестницы 65225-8405100-10
Установка лестницы 65225-8405100-20
Установка подножки откидной 65222-8405200
Замок панели 5320-8406010-01
Личинка замка панели 320-8406100
Петля облицовочной панели 5320-8407011
Установка обтекателей 5320-8415008
Установка спойлера 6560-8416012
Установка облицовки буфера 65225-8416012-50
Установка панели фар 6560-8417012
Дополнительное оборудование
Truck Контакты:
Адрес: г. Якутск, мкр. Марха Строда, 40 677901 Якутск,
Телефон:+7 (411) 231-87-88, Электронная почта: info@truck14.ru