+7 (411) 231-87-88
+7 (411) 231-87-88

Каталог запчастей на КамАЗ 5490 - магистральный седельный тягач (4х2)

2016
5490
Развернуть каталог до:
Двигатель
Механизмы управления
Тормоза
0000-3500014 Установка педального блока
5360-3501011 Тормоз передний
5490-3506050-30 Клапан электромагнитный с фитингами
5490-3506051-30 Клапан электромагнитный с фитингами
5490-3506052-30 Блок электромагнитного клапана с фитингами
5490-3506180-15 Охладитель в сборе с кронштейном
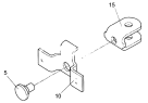
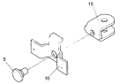
5490-3509000-05 Установка отвода воздуха от компрессора в пневмосистему
5490-3511001-15 Осушитель в сборе с ресивером
5490-3511010-15 Осушитель в сборе с фитингами
5490-3513002-30 Ресивер малый с фитингами
5490-3513002-31 Ресивер малый с фитингами
5490-3513003-30 Блок ресиверов с фитингам
5490-3513005-30 Ресивер в сборе с фитингами
5490-3513006-30 Ресивер с фитингами
5490-3513011-15 Ресивер малый в сборе с фитингами
0000-3514001 Блок педалей с элементами крепления и датчиками
0000-3514005 Блок педалей
0000-3514010 Тормозной кран с фитингами
5490-3542001-30 Блок управления тормозами передней оси
5490-3542003-30 Модулятор передний правый
5490-3542005-30 Модулятор передний левый
5490-3542007-30 Блок управления тормозами второго контура
Электрооборудование
Электрооборудование
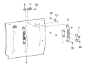
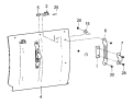
6580-3703001 Установка ящика с аккумуляторами
6580-3703002 Установка аккумуляторных батарей
6580-3703173 Установка крышки верхней ящика аккумуляторных батарей
6580-3703180 Установка кронштейнов АКБ
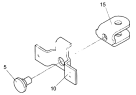
0000-3710008 Установка концевого выключателя
5490-3711001-10 Установка фар
0000-3714001 Установка электрооборудования кабины
0000-3715003 Установка освещения подножки
5490-3716002-80 Установка задних фонарей
5490-3721001-10 Установка звуковых сигналов
5490-3723007 Установка парковочной розетки и спирального кабеля
5490-3726001-10 Установка бокового повторителя указателя поворота
5490-3727001 Установка прожектора освещения сцепного устройства
5490-3731001-40 Установка боковых габаритных фонарей на боковой защите
5490-3731001-50 Установка боковых габаритных фонарей на задних крыльях
5490-3731001-60 Установка боковых габаритных фонарей на передних крыльях
5490-3737001-10 Установка малогабаритного выключателя массы
0000-3738001 Установка фонарей автопоезда
0000-3738002 Установка габаритных фонарей
5490-3743001 Установка противотуманных фар
5490-3765002-10 Установка блока управления коммутацией элетрооборудования
Электроника
0000-4000200 Установка электроники в кабине
0000-4000230 Установка электроники в двери левой
0000-4000240 Установка электроники в двери правой
0000-4000700 Установка электроники в надоконной полке
0000-4000800 Установка электроники на крыши
0000-4000900 Установка электроники на спальном месте
0000-4011100 Установка кронштейнов в панель приборов
5490-4011101-10 Кронштейн блока коммутации
5490-4012001 Установка щитка приборов
0000-4014100 Установка органов управления в панели приборов
0000-4015100 Установка блоков управления в панели приборов
0000-4015101 Установка блоков в блоке коммутации
0000-4017100 Установка реле в блоке реле и предохранителей
0000-4018100 Установка предохранителей в блоке реле и предохранителей
0000-4019220 Установка датчиков в педальном блоке
0000-4023100 Установка розеток
0000-4023101 Установка прикуривателя
0000-4070100 Установка жгута проводов в панели приборов
0000-4070220 Установка жгута проводов в педальном блоке
5490-4015361 Установка блока нейтрализации
5490-4019321 Установка датчика угловых скоростей
5490-4019351 Установка датчиков температуры и влажности
5490-4030010-30 Электромагнитный клапан ECAS с соединительной арматурой
5490-4055002-30 Установка датчика положения кузова
5490-4055010-30 Датчик положения в сборе с кронштейном
Кузов
Установка вентиляционного люка
Капот, крылья, облицовка радиатора (оперение)
5490-8400006-10 Установка оперения кабины
0000-8401008 Установка облицовочной панели и боковых обтекателей
0000-8415002 Противосолнечный козырек
0000-8424008 Установка молдингов
5490-8403040-10 Крышка ящика инструментального
5490-8401008 Установка облицовочной панели и боковых обтекателей
5490-8401100 Панель облицовочная верхняя с замками
5490-8401214 Обтекатель правый
5490-8401215 Обтекатель левый
5490-8401217 Панель обтекателя внутренняя правая в сборе с панелью нижней
5490-8401218 Панель обтекателя внешняя правая
5490-8401219 Панель обтекателя внешняя левая
5490-8401308 Панель облицовочная нижняя с логотипом
5490-8401310 Решетка радиаторная с логотипом
5490-8403012-10 Панель передней части переднего крыла с накладкой подножки правая
5490-8403014-10 Панель передней части переднего крыла
5490-8403032-10 Панель средней части переднего крыла правая
5490-8403033-10 Панель средней части переднего крыла левая
5490-8403070-10 Держатель панели крыла правого
5490-8423008 Установка верхних и боковых обтекателей
5490-8403010-30 Установка задней части переднего крыла правая
5490-8403011-30 Установка задней части переднего крыла левая
5490-8403020-30 Задняя часть переднего крыла правая
5490-8403021-30 Задняя часть переднего крыла левая
5490-8404003-20 Установка задних крыльев
5490-8404006-20 Крыло заднее №1 правое
5490-8404007-20 Крыло заднее №1 левое
5460-8404009-50 Крыло заднее верхнее
5490-8404010-20 Крыло заднее №2 правое
5490-8404011-20 Крыло заднее №2 левое
5490-8404055 Установка кронштейнов заднего крыла
5490-8404400-10 Установка настила рамы
5490-8404520 Установка поручня
5490-8405010-10 Установка подножек правая
5490-8405011-10 Установка подножек левая
5490-8405100-10 Щиток подножки с люком правый
5490-8407160(2) Петля
5490-8410003-10 Установка боковой защиты
5490-8416012-10 Установка облицовки буфера
5490-8416014-10(2) Облицовка буфера с накладками
Дополнительное оборудование
Truck Контакты:
Адрес: г. Якутск, мкр. Марха Строда, 40 677901 Якутск,
Телефон:+7 (411) 231-87-88, Электронная почта: info@truck14.ru